授权公布号:CN217331275U
一种湿式光电直读有线远传水表
有效
申请
2022-01-14
申请公布
1970-01-01
授权
2022-08-30
预估到期
2032-01-14
| 申请号 | CN202220095428.9 |
| 申请日 | 2022-01-14 |
| 授权公布号 | CN217331275U |
| 授权公告日 | 2022-08-30 |
| 分类号 | G01F15/00;G01F15/18 |
| 分类 | 测量;测试; |
| 申请人名称 | 佛山市海川智能仪表有限公司 |
| 申请人地址 | 广东省佛山市顺德区北滘镇黄龙村龙展路3号之一(住所申报) |
专利法律状态
2022-08-30
授权
状态信息
授权
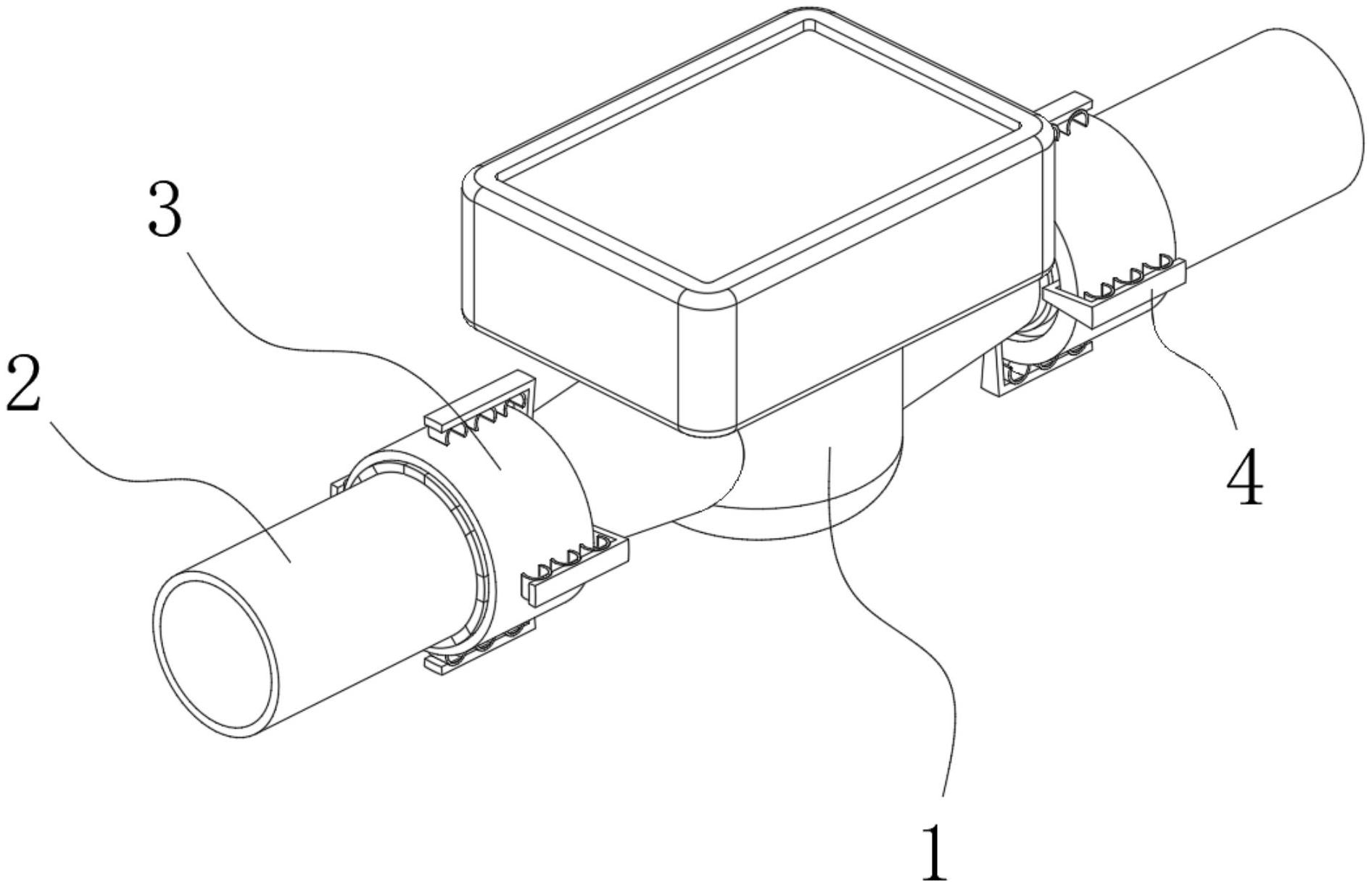
摘要
本实用新型涉及水表技术领域,特别是一种湿式光电直读有线远传水表,包括阀体,所述阀体两端的内部均设置有管道,所述阀体外部的两端均转动连接有锁紧套,两个所述锁紧套分别与两个所述管道螺纹连接。本实用新型的优点在于:整个装置分为阀体和管道两部分,在阀体的端口处固定连接有扩口管,在两个扩口管的外侧均开设有卡槽,同时,在管道外部的一端均固定连接有多个凸台,其中,在扩口管外表面的后侧转动连接有锁紧套,在使用时,在扩口管的内部设置有密封圈,将多个凸台与多个卡槽相卡接,使用锁紧套与凸台螺纹连接,达到固定管道位置的目的,并避免出现管道脱落的情况出现,且使得管道与阀体之间的密封性较好。


