授权公布号:CN213597795U
门窗边框异形转角连接结构
有效
申请
2020-04-17
申请公布
1970-01-01
授权
2021-07-02
预估到期
2030-04-17
| 申请号 | CN202020570836.6 |
| 申请日 | 2020-04-17 |
| 授权公布号 | CN213597795U |
| 授权公告日 | 2021-07-02 |
| 分类号 | E06B3/964;E06B3/968 |
| 分类 | 一般门、窗、百叶窗或卷辊遮帘;梯子; |
| 申请人名称 | 辽宁东林瑞那斯股份有限公司 |
| 申请人地址 | 辽宁省营口市经济技术开发区 |
专利法律状态
2021-07-02
授权
状态信息
授权
摘要
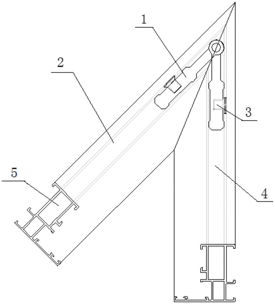
本实用新型涉及门窗技术领域,具体为属于一种门窗边框异形转角连接结构。铝合金窗框的拐角连接处内设角码,角码1套设在第一窗框腔和第二窗框腔内,第一窗框腔和第二窗框腔顶端对接,第一窗框腔和第二窗框腔底端分别与铝型材框架通过螺栓连接。通过M8异形螺栓连接,同时采用过盈配合,同时角码型材通过销钉连接,可以自由旋转,实现角度调整,两个角码型材端头加工成矩形豁口,留出旋转空间,保证连接的可靠性。连接边框型材的角码通过销钉作为转轴实现角度可调,角度可以调整,连接强度高,可以实现长途运输,便于工厂化生产加工。


