授权公布号:CN212352946U
一种塑窗型材用十字焊机
有效
申请
2020-04-09
申请公布
1970-01-01
授权
2021-01-15
预估到期
2030-04-09
| 申请号 | CN202020504591.7 |
| 申请日 | 2020-04-09 |
| 授权公布号 | CN212352946U |
| 授权公告日 | 2021-01-15 |
| 分类号 | B29C65/18;B29C65/78;B08B15/04 |
| 分类 | 塑料的加工;一般处于塑性状态物质的加工; |
| 申请人名称 | 辽宁东林瑞那斯股份有限公司 |
| 申请人地址 | 辽宁省营口市经济技术开发区 |
专利法律状态
2021-01-15
授权
状态信息
授权
摘要
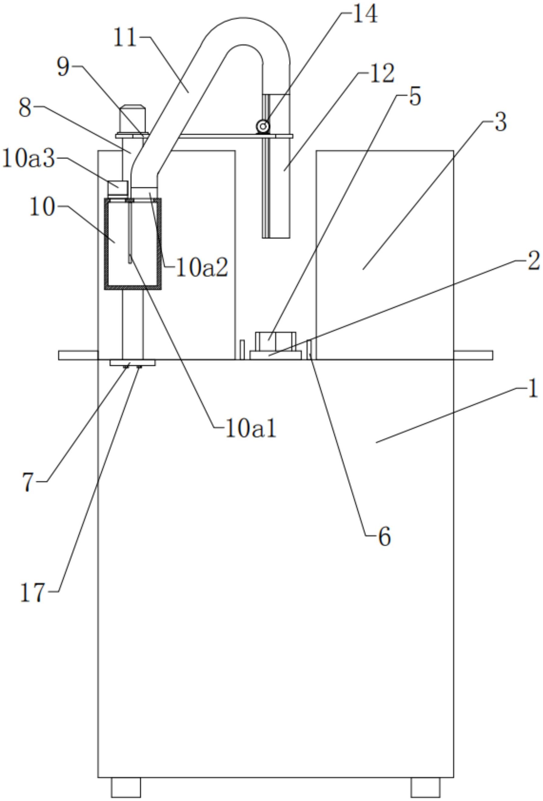
本实用新型公开了一种塑窗型材用十字焊机,主要包括机架、两对滑动块、两对夹持装置、伸缩台、两对热熔块以及四对限位块,所述机架上设有两对夹持装置,两对所述夹持装置之间开设有十字形凹槽,本实用新型涉及塑窗型材加工技术领域,该塑窗型材用十字焊机,结构简单,采用分体式设计,通过在主机架外加装具有转动功能的旋转臂,利用可伸缩的伸缩式集气结构,对热熔产生的气体进行吸收,并匹配的设有有害气体的去除装置,以上结构配合有效对热熔产生的有害物质进行吸收,除害后再进行排放,改善加工车间的空气环境,同时效率提高约50%,用人工减少2人,少去了中间清角工序,以及二次焊接,用电成本降低40%,这道工序成本降低约50%。


