授权公布号:CN210858359U
一种铝合金推拉门底托结构
有效
申请
2019-07-24
申请公布
1970-01-01
授权
2020-06-26
预估到期
2029-07-24
| 申请号 | CN201921176353.1 |
| 申请日 | 2019-07-24 |
| 授权公布号 | CN210858359U |
| 授权公告日 | 2020-06-26 |
| 分类号 | E05D13/00 |
| 分类 | 锁;钥匙;门窗零件;保险箱; |
| 申请人名称 | 辽宁东林瑞那斯股份有限公司 |
| 申请人地址 | 辽宁省营口市经济技术开发区 |
专利法律状态
2020-06-26
授权
状态信息
授权
摘要
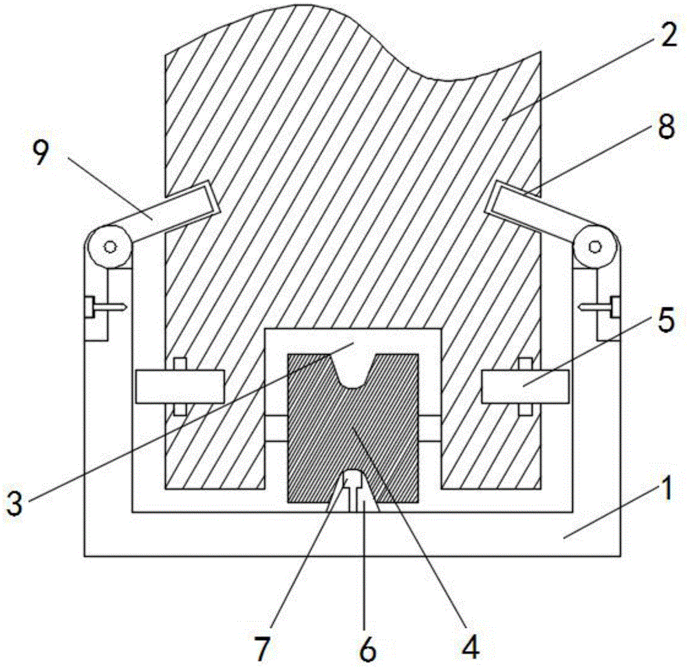
本实用新型提供了一种铝合金推拉门底托结构,属于铝合金技术领域,包括:底托本体和推拉门,推拉门嵌入底托本体内部活动连接,推拉门底部设有凹槽,凹槽内活动连接有导向轮,推拉门两侧活动安装有滚轮,导向轮底部嵌入安装导向块,导向块内部开口设有螺栓孔,滚轮上方开口设有滑槽,滑槽内嵌入设有挡块,挡块底端通过螺栓与底托本体固定连接,该种铝合金推拉门底托结构,其能够防止推拉门在使用时与推拉门底托脱离,并且增加推拉门的隔音和防水功能,该结构设计合理,实用性强。


