授权公布号:CN213807423U
一种断桥铝防弹防盗窗排水结构
有效
申请
2020-05-19
申请公布
1970-01-01
授权
2021-07-27
预估到期
2030-05-19
| 申请号 | CN202020839053.3 |
| 申请日 | 2020-05-19 |
| 授权公布号 | CN213807423U |
| 授权公告日 | 2021-07-27 |
| 分类号 | E06B7/14;E06B3/263 |
| 分类 | 一般门、窗、百叶窗或卷辊遮帘;梯子; |
| 申请人名称 | 辽宁东林瑞那斯股份有限公司 |
| 申请人地址 | 辽宁省营口市经济技术开发区 |
专利法律状态
2021-09-17
专利权人的姓名或者名称、地址的变更
状态信息
专利权人的姓名或者名称、地址的变更
2021-07-27
授权
状态信息
授权
摘要
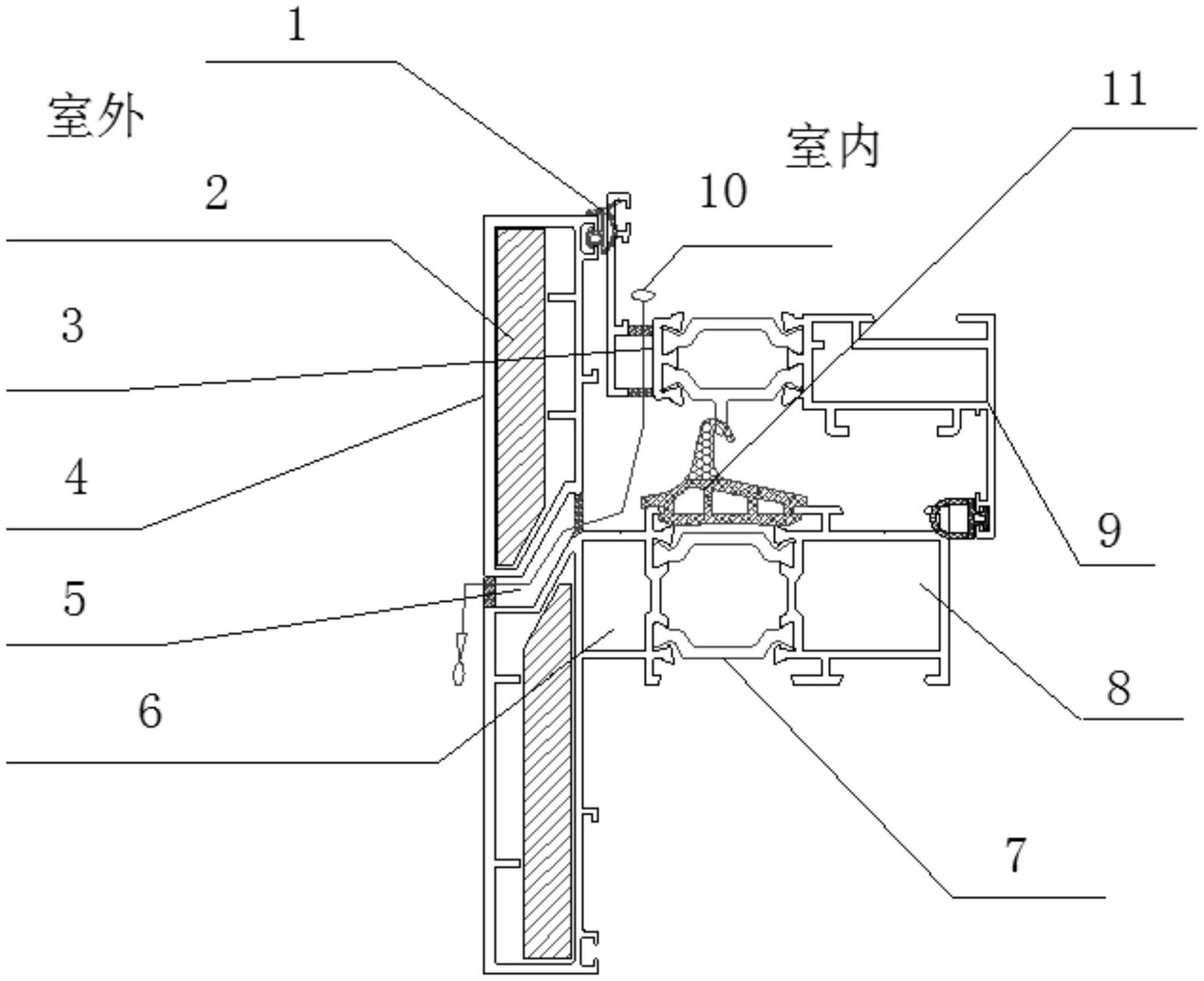
本实用新型涉及门窗技术领域,具体为属于一种断桥铝防弹防盗窗排水结构。包括铝合金窗框,所述铝合金窗框由室外侧铝合金窗框和室内侧铝合金窗框组成,所述室外侧铝合金窗框由三腔体组成,两侧的腔体内布设钢板,中间腔体为排水腔,室内侧铝合金窗框由多组中间空腔的铝合金型材构成,室外侧铝合金窗框一体成型的外延伸板与室内侧铝合金窗框一体成型的外延伸板通过隔热条连接,本实用新型防弹防盗窗关键点是断桥铝边框室外侧型材设计成三个腔体,下侧边框和横向中挺中间腔体设计成向下带斜坡的,便于加工排水孔,同时也是为了避免积水进入带有钢板的型材腔体,造成铝和铁接触液体介质,发生化学反应,造成腐蚀。


