授权公布号:CN210818162U
一种铝合金加工用定位夹具
有效
申请
2019-09-09
申请公布
1970-01-01
授权
2020-06-23
预估到期
2029-09-09
| 申请号 | CN201921486211.5 |
| 申请日 | 2019-09-09 |
| 授权公布号 | CN210818162U |
| 授权公告日 | 2020-06-23 |
| 分类号 | B23K37/04;B23K37/047 |
| 分类 | 机床;不包含在其他类目中的金属加工; |
| 申请人名称 | 辽宁东林瑞那斯股份有限公司 |
| 申请人地址 | 辽宁省营口市经济技术开发区 |
专利法律状态
2020-06-23
授权
状态信息
授权
摘要
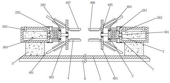
本实用新型公开了一种铝合金加工用定位夹具,包括底板和胶垫,所述底板的下端固接有胶垫,所述底板的上方左右两侧均通过垫块与箱体固定相连,所述箱体的内部安装有动力装置,所述动力装置和夹持装置的内侧均设有限位装置。该铝合金加工用定位夹具,通过液压缸、液压杆、斜杆、第三竖板、第一套筒、横板、橡胶垫和竖杆之间的配合,解决了现有技术无法进行同步夹持定位导致夹持效果较差的问题,通过第一竖板、第二竖板、弹簧、卡块、第一轴承、第二轴承、第三竖板和竖杆之间的配合,使完成工件的一面加工后可向外拉动第三竖板并转动180度后松开即可完成工件翻转,解决了现有技术只能在需要加工工件另一面时进行重新夹持的问题。


