授权公布号:CN109775617B
一种可折叠式货叉
有效
申请
2019-02-26
申请公布
2019-05-21
授权
2021-04-13
预估到期
2039-02-26
| 申请号 | CN201910140262.0 |
| 申请日 | 2019-02-26 |
| 申请公布号 | CN109775617A |
| 申请公布日 | 2019-05-21 |
| 授权公布号 | CN109775617B |
| 授权公告日 | 2021-04-13 |
| 分类号 | B66F9/12 |
| 分类 | 卷扬;提升;牵引; |
| 申请人名称 | 安徽安鑫货叉有限公司 |
| 申请人地址 | 安徽省合肥市经济技术开发区卧云路3195号 |
专利法律状态
2021-04-13
授权
状态信息
授权
2019-06-14
实质审查的生效
状态信息
实质审查的生效
2019-05-21
公布
状态信息
公布
摘要
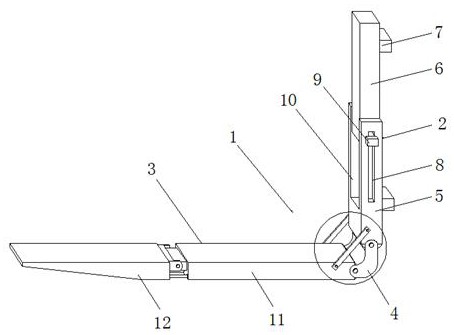
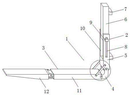
本发明公开了一种可折叠式货叉,属于货叉技术领域,包括货叉本体,所述货叉本体由垂直段和水平段组成,所述垂直段与所述水平段通过折叠机构相连接。通过将组成货车本体的垂直段与水平段之间安装折叠机构,水平段可以翻转贴合在垂直段上,垂直段由活动连接的第一竖梁和第二竖梁组成,第二竖梁可以下移收入收纳槽,从而缩小垂直段的长度,水平段由两个可以通过铰链翻折的横梁组成,第一横梁和第二横梁折叠后缩小水平段的长度,这样折叠后的货叉本体可以节约储存空间,便于携带和运输,垂直段与水平段的折叠部分连接有加固杆,展开货叉本体后,加固杆可以对垂直段与水平段定型,保证货叉本体为L型结构不会松散,使货叉可以正常运行。


