授权公布号:CN204281223U
一种叉车推拉器
有效
申请
2014-12-04
申请公布
1970-01-01
授权
2015-04-22
预估到期
2024-12-04
| 申请号 | CN201420761951.6 |
| 申请日 | 2014-12-04 |
| 授权公布号 | CN204281223U |
| 授权公告日 | 2015-04-22 |
| 分类号 | B66F9/19;B66F9/22 |
| 分类 | 卷扬;提升;牵引; |
| 申请人名称 | 佛山市中德诺克搬运设备有限公司 |
| 申请人地址 | 广东省佛山市顺德区勒流新安村委会富安工业区(一期)10-4号地块 |
专利法律状态
2015-04-22
授权
状态信息
授权
摘要
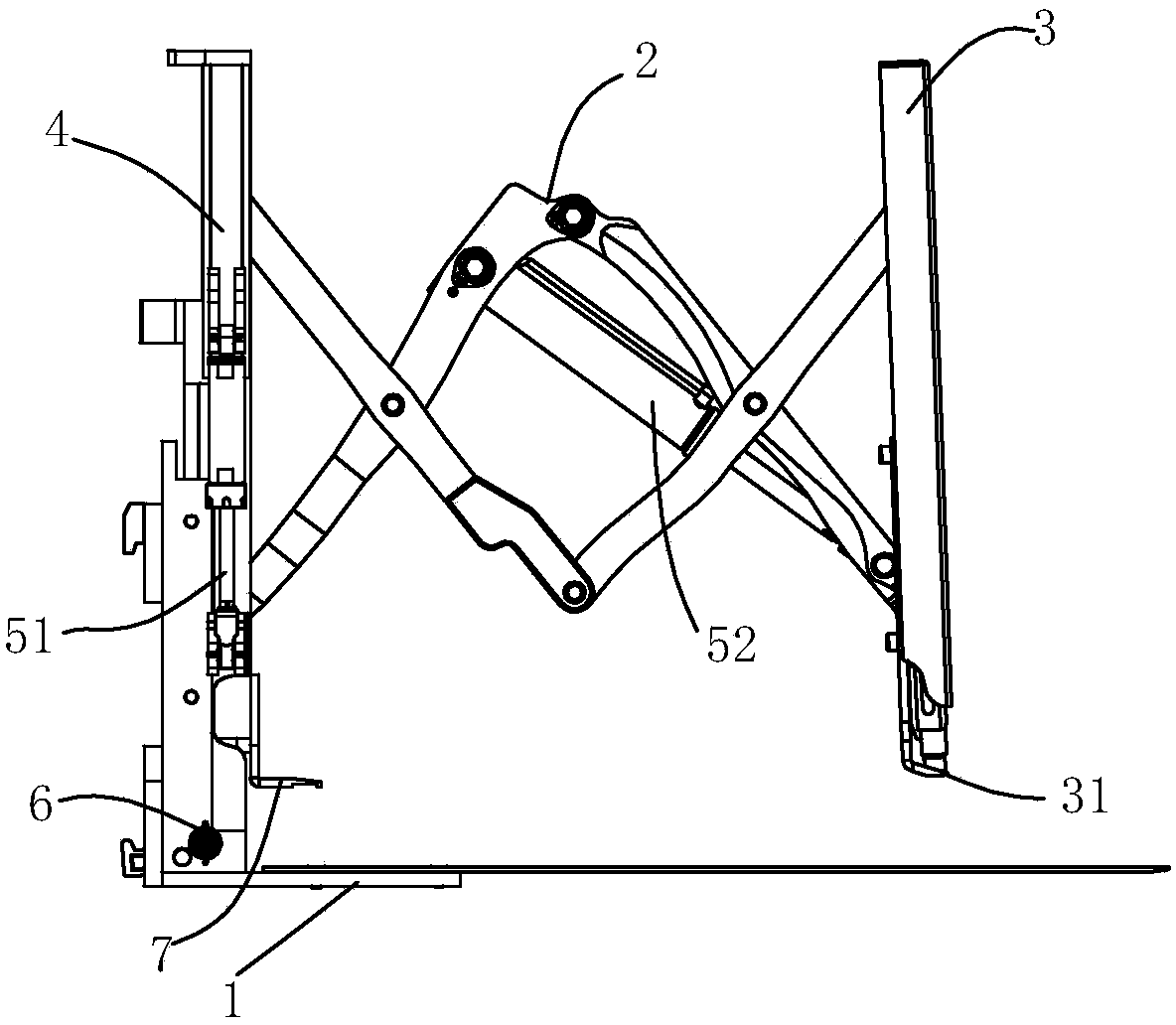
本实用新型提供一种叉车推拉器,包括托板、推拉装置、前推板,托板一侧设有升降架,升降架与推拉装置一端连接,前推板设在推拉装置另一端,所述的升降架两侧分别设有升降油缸驱动升降,推拉装置设有推拉油缸驱动推拉,其特征在于:所述的托板侧还另外设有分配阀与上述的升降油缸、推拉油缸控制连接,所述的前推板下端设有聚氨酯塑料压条。采用上述结构后,托板侧还另外设有分配阀与上述的升降油缸、推拉油缸控制连接,有效实现升降架及推拉器安全、高效分流压力,实现平稳同步进行实现推拉前推板,所述的前推板下端设有聚氨酯塑料压条,有效保护了前推板与底板的摩擦,且避免摩擦时造成工作噪声。


