授权公布号:CN112268033B
一种压铸机液压系统防内泄装置
有效
申请
2020-09-21
申请公布
2021-01-26
授权
2023-05-16
预估到期
2040-09-21
| 申请号 | CN202010995504.7 |
| 申请日 | 2020-09-21 |
| 申请公布号 | CN112268033A |
| 申请公布日 | 2021-01-26 |
| 授权公布号 | CN112268033B |
| 授权公告日 | 2023-05-16 |
| 分类号 | F15B15/14;F15B19/00;F15B21/00 |
| 分类 | 流体压力执行机构;一般液压技术和气动技术; |
| 申请人名称 | 蚌埠隆华压铸机有限公司 |
| 申请人地址 | 安徽省蚌埠市燕山乡创业园区西首 |
专利法律状态
2023-05-16
授权
状态信息
授权
2021-01-26
公布
状态信息
公布
摘要
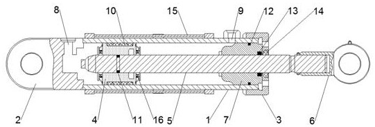
本发明公开了一种压铸机液压系统防内泄装置,涉及压铸机技术领域,包括缸筒,缸筒的一侧固定安装有缸底,缸筒的另一侧固定安装有缸盖,缸筒内密封安装有活塞体,活塞体内固定安装有活塞杆,活塞体的外侧位于活塞体与缸筒之间固定安装有密封圈一,缸筒的外侧固定安装有内泄预警件,活塞体的两侧均固定安装有活塞密封件,活塞密封件连接安装在活塞杆和活塞体之间,本发明通过设置活塞密封件可以使得密封圈五对活塞杆与活塞体内孔之间的间隙密封效果更好,避免油液从活塞杆与活塞体内孔之间的间隙渗漏,通过设置内泄预警件可以及时做出响应避免油液进一步内泄造成更大影响,通过在密封圈一内开设有储油槽降低两侧的油液的压力差,避免油液渗漏。


