授权公布号:CN208712832U
一种压铸机防溅给汤装置
有效
申请
2018-08-24
申请公布
1970-01-01
授权
2019-04-09
预估到期
2028-08-24
| 申请号 | CN201821391209.5 |
| 申请日 | 2018-08-24 |
| 授权公布号 | CN208712832U |
| 授权公告日 | 2019-04-09 |
| 分类号 | B22D17/30 |
| 分类 | 铸造;粉末冶金; |
| 申请人名称 | 江门市振力机械有限公司 |
| 申请人地址 | 广东省江门市蓬江区棠下镇堡棠路A-03-h01号厂房 |
专利法律状态
2019-04-09
授权
状态信息
授权
摘要
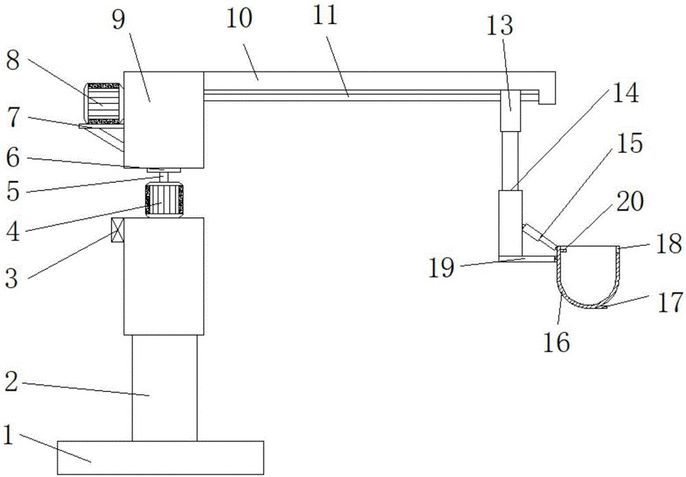
本实用新型公开了一种压铸机防溅给汤装置,包括底座,所述底座的顶部外壁通过螺栓连接有液压缸,且液压缸的顶部外壁通过螺栓连接有驱动电机,所述驱动电机的输出端通过联轴器连接有转动轴,且转动轴的顶部外壁通过螺栓连接有转盘,所述转盘的顶部外壁通过螺栓连接有安装块,且安装块的一侧外壁通过螺栓连接有移动块,所述安装块的另一侧外壁焊接有安装架,且安装架的顶部外壁通过螺栓连接有步进电机。本实用新型通过启动驱动电机,通过转动安装块,再通过启动步进电机,通过丝杠来移动汤碗的位置,配合使用能使汤碗快捷方便的移动到熔炉上方,然后通过开关控制第一电控伸缩杆,使汤碗的底部外壁与汤表面接触,结构简单。


