授权公布号:CN218746502U
一种导光条模具加工设备
有效
申请
2022-11-14
申请公布
1970-01-01
授权
2023-03-28
预估到期
2032-11-14
| 申请号 | CN202223033188.9 |
| 申请日 | 2022-11-14 |
| 授权公布号 | CN218746502U |
| 授权公告日 | 2023-03-28 |
| 分类号 | B23Q11/00 |
| 分类 | 机床;不包含在其他类目中的金属加工; |
| 申请人名称 | 牧野机床(中国)有限公司 |
| 申请人地址 | 江苏省苏州市昆山市玉山镇牧野路2号 |
专利法律状态
2023-03-28
授权
状态信息
授权
摘要
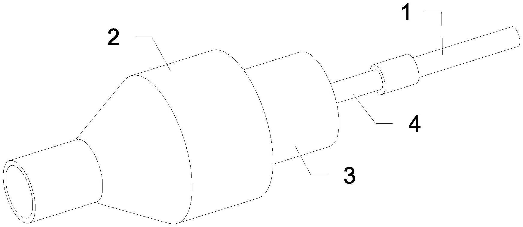
本实用新型属于光条模具加工技术领域,公开了一种导光条模具加工设备,包括刀头,所述刀头的后端安装有涡轮转子,所述涡轮转子的外部转动安装有排气罩,所述排气罩的外部固定连接有导气罩,所述导气罩包括导气嘴和罩体,所述导气嘴与罩体固定连接,所述排气罩包括挡气块、挡气环、连接块和输气筒,所述挡气块固定连接在挡气环的后端,所述挡气环固定连接在连接块的后端。本实用新型导气罩与外接气泵管道连接,利用外接气泵向导气罩内部输气,通过导气罩将气体导入排气罩内,再通过排气罩向外排出,过程中带动涡轮转子高速转动,通过涡轮转子带动刀头加工目标模具,相对于常规的电机驱动方式而言避免了电刷损耗,提高了实用性。


