授权公布号:CN218855809U
一种电火花切割机
有效
申请
2022-11-24
申请公布
1970-01-01
授权
2023-04-14
预估到期
2032-11-24
| 申请号 | CN202223131627.X |
| 申请日 | 2022-11-24 |
| 授权公布号 | CN218855809U |
| 授权公告日 | 2023-04-14 |
| 分类号 | B23H1/00;B23H11/00 |
| 分类 | 机床;不包含在其他类目中的金属加工; |
| 申请人名称 | 牧野机床(中国)有限公司 |
| 申请人地址 | 江苏省苏州市昆山市玉山镇牧野路2号 |
专利法律状态
2023-04-14
授权
状态信息
授权
摘要
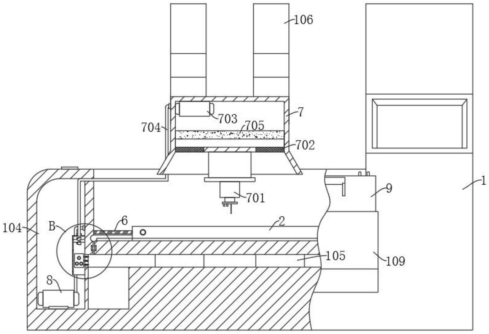
本实用新型公开了一种电火花切割机,属于机床技术领域。一种电火花切割机,包括基台及开设在基台顶部的加工腔,基台顶部设置有切割头,还包括:用于固定加工件的电磁板,加工腔底壁和电磁板的底壁均开设有半圆形槽体,两组半圆形槽体拼接形成圆柱形通孔,圆柱形通孔内转动连接有调节轴,调节轴上固定连接有涡轮片,两则调节轴的旋转方向相反;设置在储液腔内的循环供液部,用于调节加工腔内的液体水位;本实用新型通过加工腔内的工作液顺时针或逆时针运动,从而保证不在工作液内产生气泡的同时,有效地带走切割点产生的电蚀产物,一方面,持续运动的工作液可以防止其温度升高过快,另一方面,保证导电通道的有效电离,提升加工的稳定性。


