授权公布号:CN213871703U
一种金属管道用新型卡接式过滤阀
有效
申请
2020-12-04
申请公布
1970-01-01
授权
2021-08-03
预估到期
2030-12-04
| 申请号 | CN202022902784.0 |
| 申请日 | 2020-12-04 |
| 授权公布号 | CN213871703U |
| 授权公告日 | 2021-08-03 |
| 分类号 | F16L55/24;F16L13/16;B01D35/04 |
| 分类 | 工程元件或部件;为产生和保持机器或设备的有效运行的一般措施;一般绝热; |
| 申请人名称 | 上海皮尔萨管业有限公司 |
| 申请人地址 | 上海市奉贤区青村镇光明路328号第11幢第一车间 |
专利法律状态
2021-08-03
授权
状态信息
授权
摘要
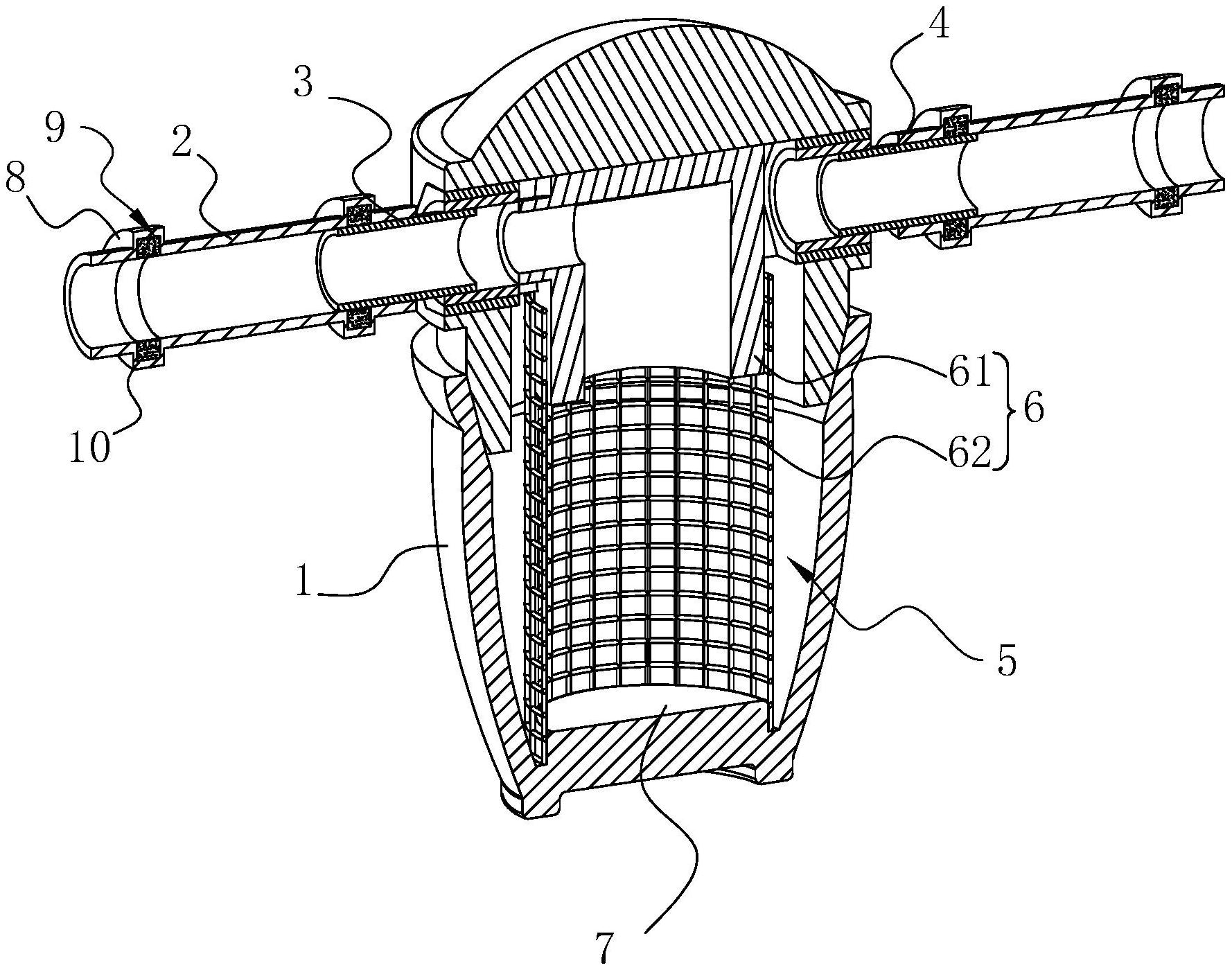
本申请公开了一种金属管道用新型卡接式过滤阀,包括阀体,连接管体,以及和阀体相连通的进水管和出水管,所述阀体内形成储水腔室,所述阀体内安装有过滤组件,所述出水管与储水腔室相连通,所述连接管体的外壁成型有卡接凸环,所述卡接凸环的内壁开设有安装环槽,所述安装环槽内安装有密封圈。本申请便于对金属管道连接,安装效率比较高,且具有良好的密封效果和防渗水能力。


