授权公布号:CN218946101U
一种便于更换模具的冲孔模具
有效
申请
2023-01-09
申请公布
1970-01-01
授权
2023-05-02
预估到期
2033-01-09
| 申请号 | CN202320045964.2 |
| 申请日 | 2023-01-09 |
| 授权公布号 | CN218946101U |
| 授权公告日 | 2023-05-02 |
| 分类号 | B21D28/34;B21D37/14;B21D37/04;B21D43/20 |
| 分类 | 基本上无切削的金属机械加工;金属冲压; |
| 申请人名称 | 青岛牧野模具有限公司 |
| 申请人地址 | 山东省青岛市红岛经济区河套街道河源路873号 |
专利法律状态
2023-05-02
授权
状态信息
授权
摘要
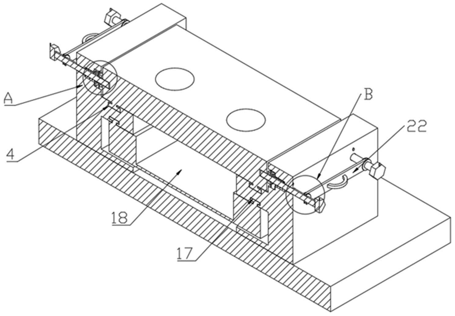
本实用新型涉及冲孔模具技术领域,具体为一种便于更换模具的冲孔模具。包括底座、模座以及用于对模座进行固定的连接机构,所述底座的上端设有两个相对设置的连接架,所述模座通过上滑轨与连接架滑动连接,所述连接机构包括滑动连接于连接架两侧的固定销、开设于模座两侧外壁上的固定孔、套设于固定销外壁上的定位环、与定位环转动连接的环形板以及设于环形板一侧的弹簧;其通过弹簧的弹力作用带动固定销插入固定孔内,将模座固定在连接架上,在拆卸时只需要向外拉动固定销从固定孔内脱离,即可解除对模座的固定,并通过上滑轨便于模座初步与连接架进行连接,避免模座产生偏移,从而使固定销可以准确插入固定孔内。


