授权公布号:CN110252873B
一种用于离合器壳体加工的自动切边装置
有效
申请
2019-07-17
申请公布
2019-09-20
授权
2024-03-26
预估到期
2039-07-17
| 申请号 | CN201910646041.0 |
| 申请日 | 2019-07-17 |
| 申请公布号 | CN110252873A |
| 申请公布日 | 2019-09-20 |
| 授权公布号 | CN110252873B |
| 授权公告日 | 2024-03-26 |
| 分类号 | B21D28/02;B21D28/14 |
| 分类 | 基本上无切削的金属机械加工;金属冲压; |
| 申请人名称 | 中山鑫辉精密技术股份有限公司 |
| 申请人地址 | 广东省中山市国家健康基地沿江东路13号毓达园区 |
专利法律状态
2024-03-26
授权
状态信息
授权
2019-10-22
实质审查的生效
状态信息
实质审查的生效;IPC(主分类):B21D28/02;申请日:20190717
2019-09-20
公布
状态信息
公布
摘要
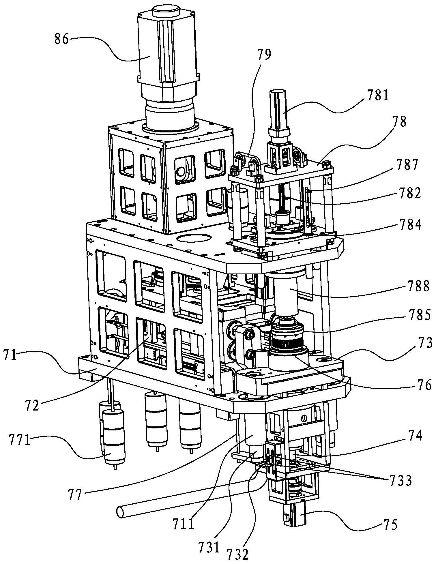
本发明公开了一种用于离合器壳体加工的自动切边装置,通过活动模座和压盘上下定位离合器壳体,通过前后水平滑动的安装架来安装推杆、活动块、安装座和曲轴,曲轴和活动块通过枢接连杆进行连接,推杆与安装架滑动连接,活动块和安装座安装在推杆两端,安装架和安装座分别承载切边外模和切边内模,并通过曲轴电机驱动曲轴旋转来驱动切边外模和切边内模相对运动定长冲断毛坯壳体的碗边,通过步进电机按照一定的角度间歇地驱动压盘转动而带动离合器壳体转动,使待裁切的部位置于切边内模和切边外模之间进行冲切,离合器壳体转动一周后完成整个碗边的定长冲断,通过检测开关进行步骤之间的联合控制,自动控制性能好,切边质量稳定。


