授权公布号:CN217889637U
一种用于电梯零件底座的加工治具
有效
申请
2022-05-24
申请公布
1970-01-01
授权
2022-11-25
预估到期
2032-05-24
| 申请号 | CN202221266018.2 |
| 申请日 | 2022-05-24 |
| 授权公布号 | CN217889637U |
| 授权公告日 | 2022-11-25 |
| 分类号 | B23C9/00;B23Q3/06;B23Q11/00 |
| 分类 | 机床;不包含在其他类目中的金属加工; |
| 申请人名称 | 中山鑫辉精密技术股份有限公司 |
| 申请人地址 | 广东省中山市火炬开发区沿江东路13号毓达工业园区 |
专利法律状态
2022-11-25
授权
状态信息
授权
摘要
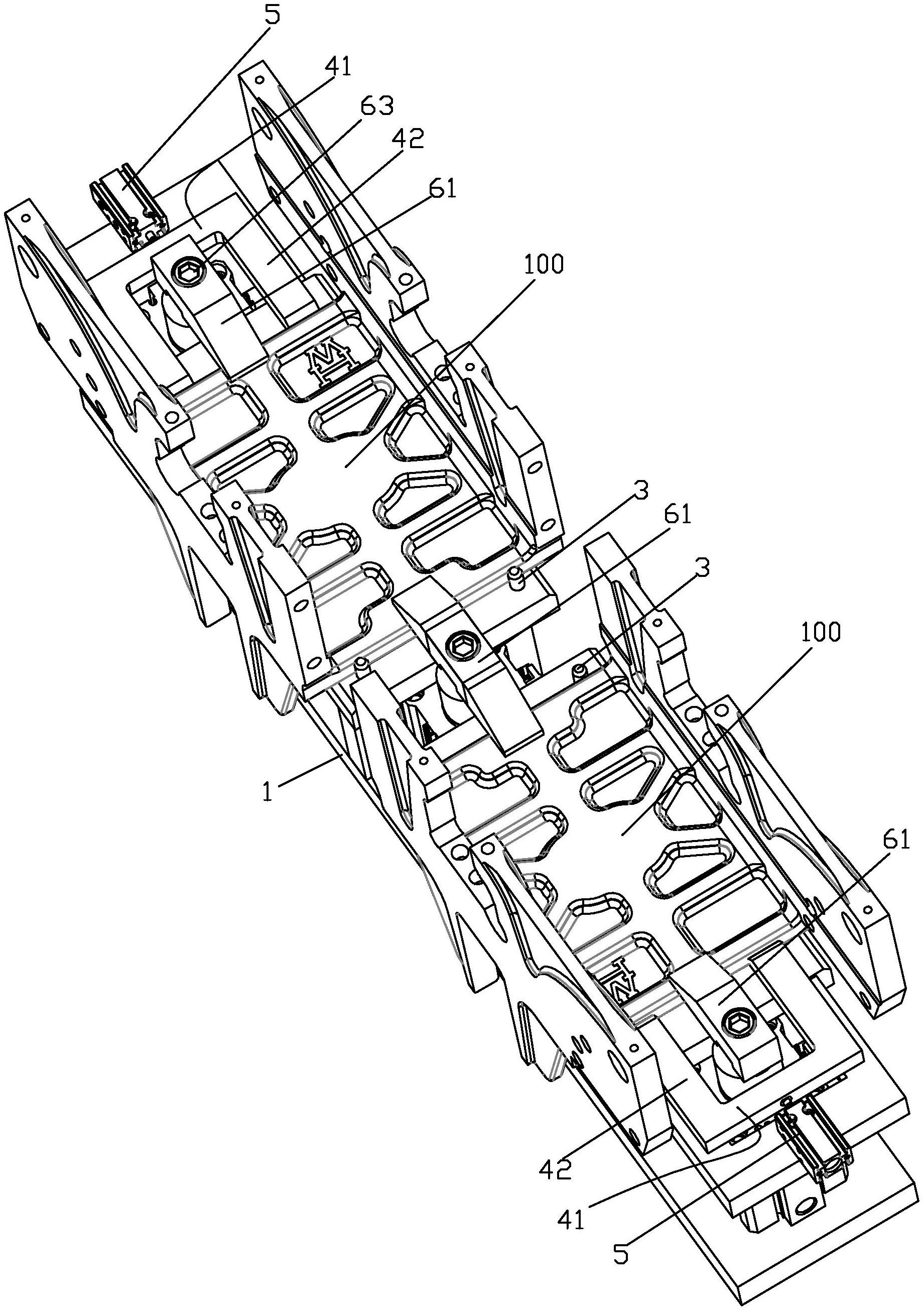
本实用新型公开了一种用于电梯零件底座的加工治具,包括用于与铣床定位装夹的基座,所述基座上排列有复数个用于供电梯零件底座上的连接卡位卡入定位的定位座,每一所述定位座一端上设有用于与电梯零件底座一端抵靠定位的定位杆,所述基座上且位于定位座另一端旁活动地连接有用于与电梯零件底座另一端抵靠且用于配合定位杆以将电梯零件底座夹紧定位的顶推件,所述基座上设有用于驱使顶推件相对基座活动的驱动组件,所述基座上且位于定位座旁设有用于配合定位座以装夹压紧电梯零件底座的装夹组件,为此本实用新型能够实现辅助电梯零件底座批量生产加工的需求,减少等待装夹时间,提高加工效率,装夹便捷,装夹定位精准。


