授权公布号:CN217453209U
一种机床刀具外冷却过滤系统
有效
申请
2022-06-30
申请公布
1970-01-01
授权
2022-09-20
预估到期
2032-06-30
| 申请号 | CN202221655034.0 |
| 申请日 | 2022-06-30 |
| 授权公布号 | CN217453209U |
| 授权公告日 | 2022-09-20 |
| 分类号 | B23Q11/10 |
| 分类 | 机床;不包含在其他类目中的金属加工; |
| 申请人名称 | 昆明尼古拉斯克雷亚机床有限公司 |
| 申请人地址 | 云南省昆明市中国(云南)自由贸易试验区昆明片区经开区洛羊街道办果林社区信息产业基地11-2-2号地块 |
专利法律状态
2023-11-03
专利权质押合同登记的生效、变更及注销
状态信息
专利权质押合同登记的生效;IPC(主分类):B23Q 11/10;专利号:ZL2022216550340;登记号:Y2023530000060;登记生效日:20231012;出质人:昆明尼古拉斯克雷亚机床有限公司;质权人:招商银行股份有限公司昆明分行;实用新型名称:一种机床刀具外冷却过滤系统;申请日:20220630;授权公告日:20220920
2022-09-20
授权
状态信息
授权
摘要
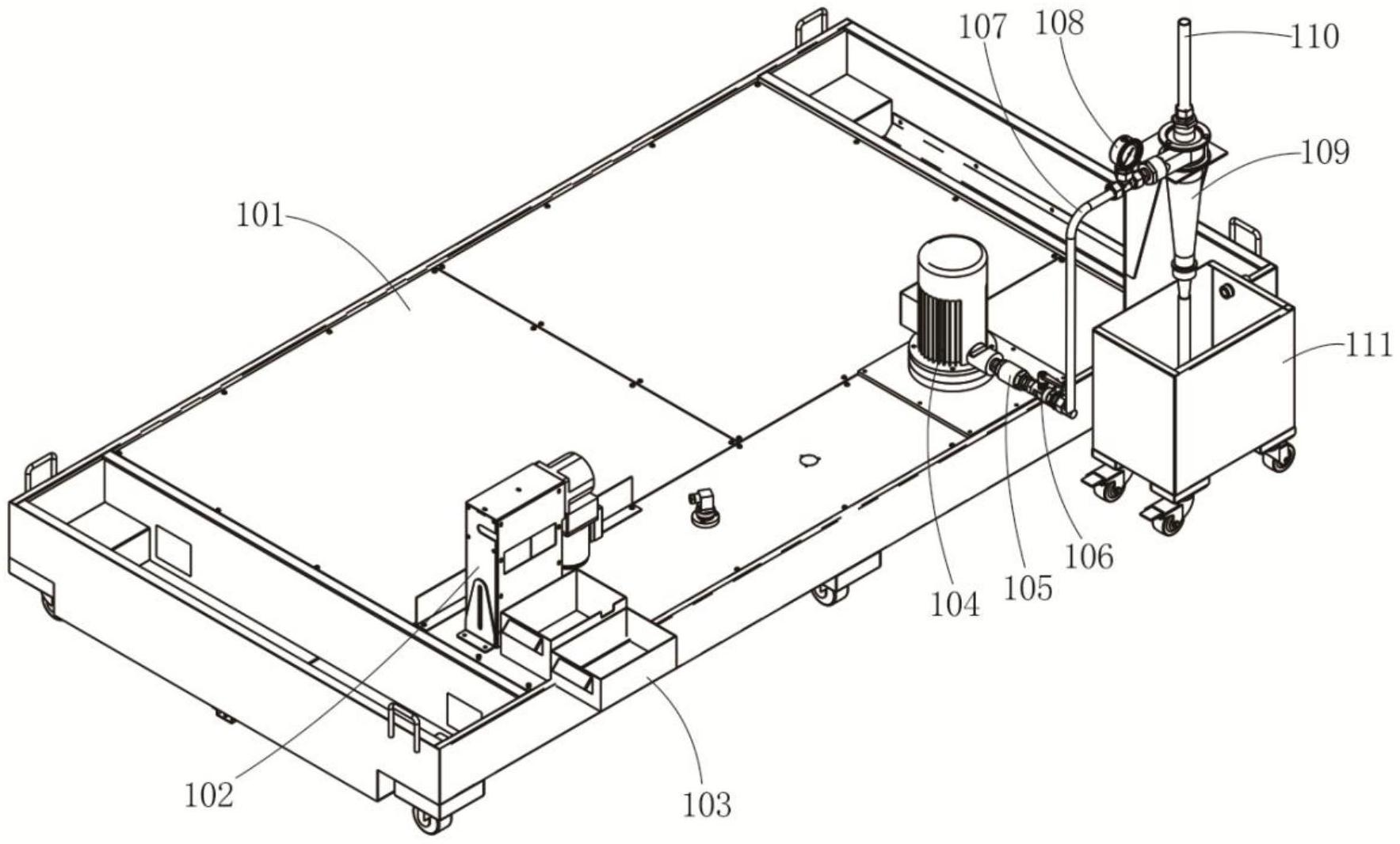
本实用新型公开了一种机床刀具外冷却过滤系统,主要应用于冷却过滤技术领域,含所述水箱顶部设置油水分离器,所述油水分离器可拆卸连接污油盒,所述水箱顶部另一侧设置水泵,所述水泵通过管道连接涡旋分离器进液口,所述管道上设置球阀,所述涡旋分离器顶部设置净液出口,所述涡旋分离器杂质排出口下方设置沉淀箱,所述沉淀箱一侧设置溢流管,所述溢流管与水箱联通连接。应用本实用新型一种机床刀具外冷却过滤系统,使用、维护方便,过滤效果好,经济性较好,可提高刀具寿命及可靠性,改善零件的加工质量,防止切屑液变质,延长使用期限。


