授权公布号:CN216512416U
一种钢丝骨架给水管加工用吊具
有效
申请
2021-12-20
申请公布
1970-01-01
授权
2022-05-13
预估到期
2031-12-20
| 申请号 | CN202123195839.X |
| 申请日 | 2021-12-20 |
| 授权公布号 | CN216512416U |
| 授权公告日 | 2022-05-13 |
| 分类号 | B66C1/44 |
| 分类 | 卷扬;提升;牵引; |
| 申请人名称 | 贵州枫叶管业有限公司 |
| 申请人地址 | 贵州省贵阳市经济技术开发区开发大道111号 |
专利法律状态
2022-05-13
授权
状态信息
授权
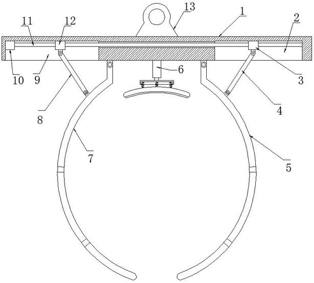
摘要
本实用新型公开了一种钢丝骨架给水管加工用吊具,包括安装座,所述安装座的底部安装有电机,所述电机的输出轴连接有丝杆,所述丝杆上通过旋向相反的螺纹套接有第一滑块和第二滑块,所述第一滑块和第二滑块滑动安装在安装座的底部,所述第一滑块通过第一连杆铰接连接有第一夹板,所述第一夹板铰接在安装座的底部,所述第二滑块通过第二连杆铰接连接有第二夹板,所述第二夹板铰接在安装座的底部,所述安装座的底部安装有液压缸,所述液压缸的活塞杆固定有升降座,所述升降座通过弹簧连接有第三夹板。本实用新型起吊方便,夹持稳定,不易脱落,安全性好。


