授权公布号:CN110565746B
一种给水管的取样用中间管道
有效
申请
2019-09-18
申请公布
2019-12-13
授权
2024-02-13
预估到期
2039-09-18
| 申请号 | CN201910880252.0 |
| 申请日 | 2019-09-18 |
| 申请公布号 | CN110565746A |
| 申请公布日 | 2019-12-13 |
| 授权公布号 | CN110565746B |
| 授权公告日 | 2024-02-13 |
| 分类号 | E03B7/07;E03B7/09;G01N1/20 |
| 分类 | 给水;排水; |
| 申请人名称 | 贵州枫叶管业有限公司 |
| 申请人地址 | 贵州省贵阳市经济技术开发区开发大道111号 |
专利法律状态
2024-02-13
授权
状态信息
授权
2020-01-07
实质审查的生效
状态信息
实质审查的生效;IPC(主分类):E03B7/07;申请日:20190918
2019-12-13
公布
状态信息
公布
摘要
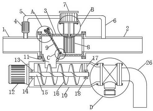
本发明公开了一种给水管的取样用中间管道,包括第一给水管和第二给水管,第一给水管和第二给水管之间密封连接有中间管,中间管的下端设置有取样管,中间管的下端靠近第一给水管的一侧连接有连接斗,安装座中插设有过滤板,取样管的封闭端外侧通过安装螺钉安装有驱动电机,本发明结构设计合理,该给水管的取样用中间管道,通过利用水轮机带动风叶轮旋转将中间管中的水搅出漩涡,将沉淀的杂质带起,经过导送叶片旋转输送样品水,输送过程中不易发生沉淀,将控制阀打开,样品水即可从排水管处排出,取样非常的方便,并通过搅拌和旋转运输,使得对于水的取样不易发生沉淀,取出的样品水试验价值更高,实用性强,利于推广。


