授权公布号:CN216700352U
电加热设备的隔热垫安装结构
有效
申请
2022-01-26
申请公布
1970-01-01
授权
2022-06-07
预估到期
2032-01-26
| 申请号 | CN202220224576.6 |
| 申请日 | 2022-01-26 |
| 授权公布号 | CN216700352U |
| 授权公告日 | 2022-06-07 |
| 分类号 | H05B3/02 |
| 分类 | 其他类目不包含的电技术; |
| 申请人名称 | 广东大宇科技实业有限公司 |
| 申请人地址 | 广东省佛山市顺德区容桂街道海尾居委会广珠路海尾路段3号4楼404房(住所申报) |
专利法律状态
2022-06-07
授权
状态信息
授权
摘要
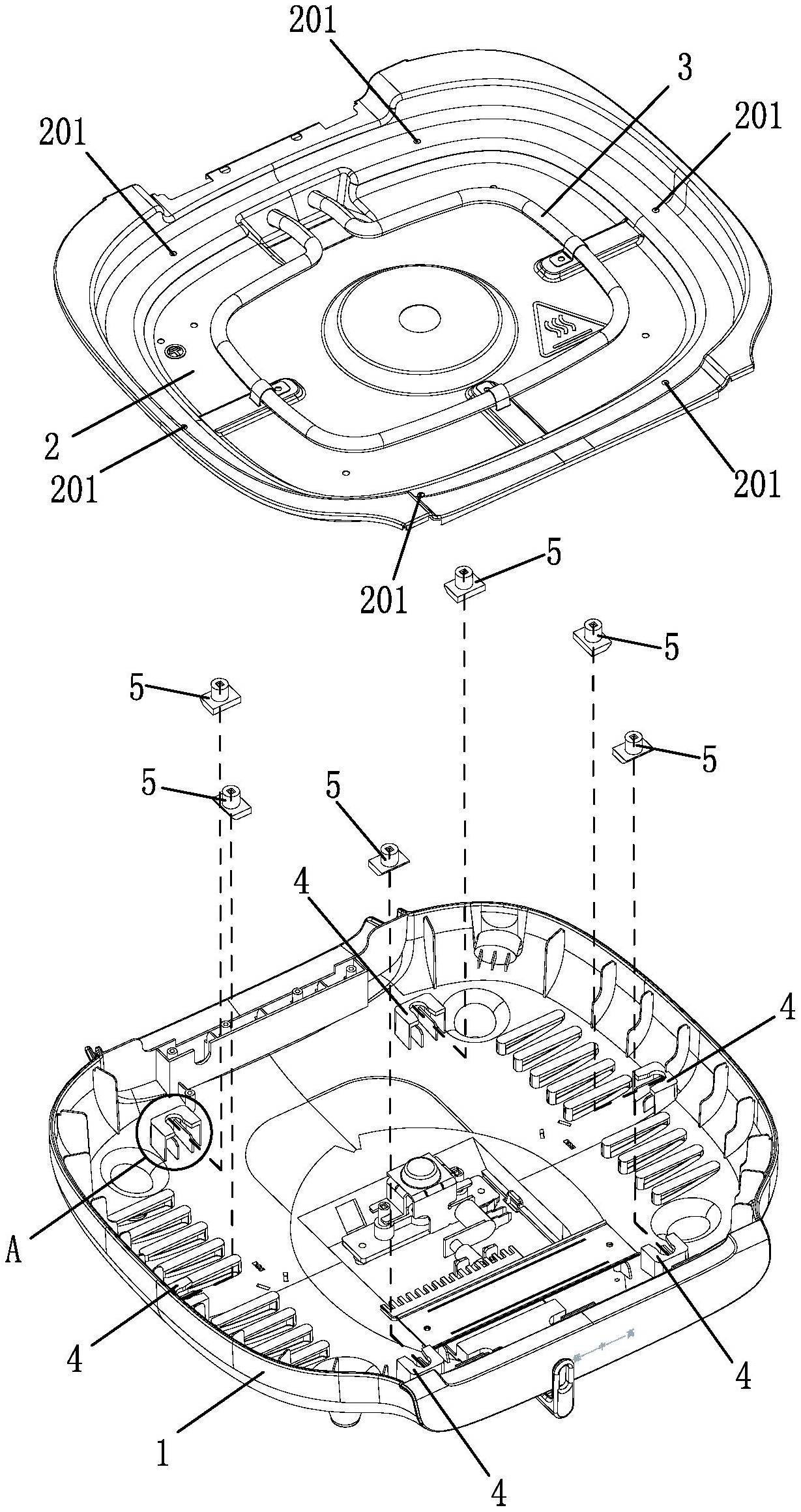
一种电加热设备的隔热垫安装结构,包括底壳,所述底壳上设置有反射顶盖和发热元件,所述底壳上设置有若干个安装台,所述安装台内设置有侧向开放的凹槽,凹槽内可拆卸地侧入式装配有隔热垫;所述隔热垫延伸出安装台上方用于支承所述反射顶盖,且与所述反射顶盖相连接;本实用新型结构中的反射顶盖通过隔热垫与底壳构成过渡连接,阻隔发热元件的热量向下传递到底壳,并且隔热垫采用侧入形式装配至凹槽内,安装效率高,拆装方便。


