授权公布号:CN107786047B
一种叶轮装配设备
有效
申请
2016-08-24
申请公布
2018-03-09
授权
2024-03-08
预估到期
2036-08-24
| 申请号 | CN201610718485.7 |
| 申请日 | 2016-08-24 |
| 申请公布号 | CN107786047A |
| 申请公布日 | 2018-03-09 |
| 授权公布号 | CN107786047B |
| 授权公告日 | 2024-03-08 |
| 分类号 | H02K15/02;B23P19/00 |
| 分类 | 发电、变电或配电; |
| 申请人名称 | 洛森通风设备(上海)有限公司 |
| 申请人地址 | 上海市松江区松江工业区宝益路28号 |
专利法律状态
2024-03-08
授权
状态信息
授权
2018-04-03
实质审查的生效
状态信息
实质审查的生效;IPC(主分类):H02K15/02;申请日:20160824
2018-03-09
公布
状态信息
公布
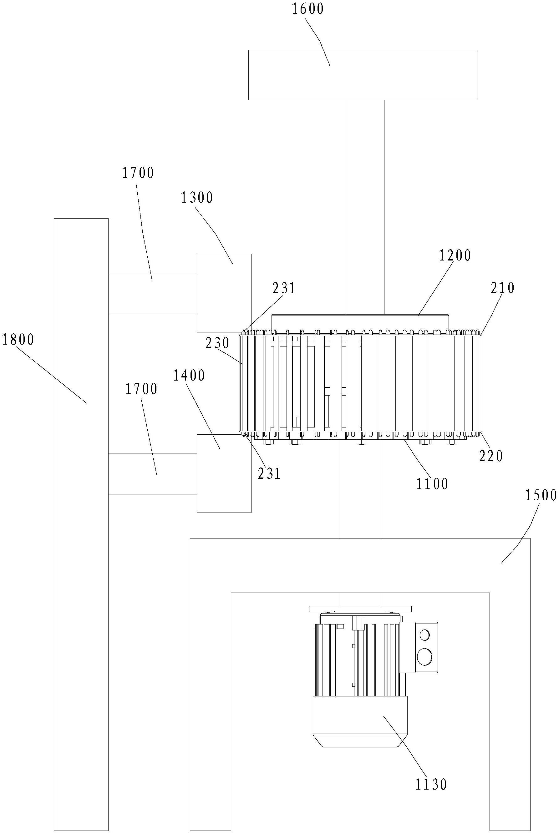
摘要
一种叶轮装配设备,包括:用于上下间隔同心承载叶轮的上盘体以及下盘体并带动两者转动的工装,所述工装呈盘状;用于在所述工装的上方压紧所述上盘体的压盘;用于在所述工装转动时侧向抵挡卡固于所述上盘体以及下盘体上的叶片上下两侧的凸片以使两侧凸片分别翻折贴合至所述上盘体以及下盘体上的上压辊以及下压辊,所述上压辊以及下压辊上下间隔布置。本发明结构简单、制造方便,装配效率高,并且人工操作的好坏对装配的影响很小,叶轮的装配质量好。


