授权公布号:CN206770251U
一种具有自动清洗功能的抽油烟风机
有效
申请
2017-05-16
申请公布
1970-01-01
授权
2017-12-19
预估到期
2027-05-16
| 申请号 | CN201720541842.7 |
| 申请日 | 2017-05-16 |
| 授权公布号 | CN206770251U |
| 授权公告日 | 2017-12-19 |
| 分类号 | F04D25/08;F04D29/70 |
| 分类 | 液体变容式机械;液体泵或弹性流体泵; |
| 申请人名称 | 广州市圣南通风设备有限公司 |
| 申请人地址 | 广东省广州市荔湾区海北裕海西横路14号自编11 |
专利法律状态
2017-12-19
授权
状态信息
授权
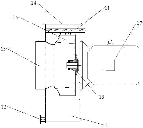
摘要
本实用新型公开了一种具有自动清洗功能的抽油烟风机,包括机壳、电机、风机叶轮、进风口和出风口,所述的电机设置在机壳的一侧,所述的风机叶轮与电机的输出轴连接,所述的进风口设置在机壳的另一侧,所述的出风口在机壳的切线方向处接入,所述进风口与出风口连通;所述的机壳的顶部设置有喷淋管,所述的喷淋管朝向机壳内部的一侧设置有若干喷淋口,在机壳的底部设置有排污口。通过上述方式,本实用新型所述的具有自动清洗功能的抽油烟风机,可对风机自动或手动灌进强力清洗剂,让强力清洗剂充分清洗叶轮,清洁效果好,节省人力物力。


