授权公布号:CN206770250U
一种轴流式消防排烟风机
有效
申请
2017-05-16
申请公布
1970-01-01
授权
2017-12-19
预估到期
2027-05-16
| 申请号 | CN201720541346.1 |
| 申请日 | 2017-05-16 |
| 授权公布号 | CN206770250U |
| 授权公告日 | 2017-12-19 |
| 分类号 | F04D25/08;F04D29/54;F04D29/66;F04D29/58 |
| 分类 | 液体变容式机械;液体泵或弹性流体泵; |
| 申请人名称 | 广州市圣南通风设备有限公司 |
| 申请人地址 | 广东省广州市荔湾区海北裕海西横路14号自编11 |
专利法律状态
2017-12-19
授权
状态信息
授权
摘要
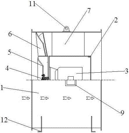
本实用新型公开了一种轴流式消防排烟风机,包括外风桶、设置于外风桶内部的内风桶,所述的内风桶与外风桶之间呈环形状设置有导流叶,所述的导流叶的表面与外风桶的轴心方向倾斜设置;所述的内风桶内部设置有电机、所述的电机的输出轴上套设有叶轮轴盘,所述的叶轮轴盘上设置有轮毂,沿所述轮毂的外围分布有叶片,所述的叶片呈环形状分布。通过上述方式,本实用新型所述的轴流式消防排烟风机,通过导流叶的引导作用,产生的噪音低,气流不会对风机的内部结构产生冲击。


