授权公布号:CN206770249U
一种可使电机噪音降低的离心式风机
有效
申请
2017-05-16
申请公布
1970-01-01
授权
2017-12-19
预估到期
2027-05-16
| 申请号 | CN201720540744.1 |
| 申请日 | 2017-05-16 |
| 授权公布号 | CN206770249U |
| 授权公告日 | 2017-12-19 |
| 分类号 | F04D25/08;F04D29/66;F04D29/42;F04D29/00 |
| 分类 | 液体变容式机械;液体泵或弹性流体泵; |
| 申请人名称 | 广州市圣南通风设备有限公司 |
| 申请人地址 | 广东省广州市荔湾区海北裕海西横路14号自编11 |
专利法律状态
2017-12-19
授权
状态信息
授权
摘要
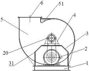
本实用新型公开了一种可使电机噪音降低的离心式风机,包括底座,还包括设置于底座上的电机、支撑座和风机,所述的支撑座罩住所述电机,所述的支撑座上设置有轴承座,所述的轴承座上穿设有旋转轴,所述的旋转轴与电机联动并与风机内部的风机叶轮连接。通过上述方式,本实用新型所述的一种可使电机噪音降低的离心式风机,其降噪效果显著、运行稳定,还节省了空间。


