授权公布号:CN117227047B
一种金属模具错位修正装置
有效
申请
2023-11-16
申请公布
2023-12-15
授权
2024-02-09
预估到期
2043-11-16
| 申请号 | CN202311529924.6 |
| 申请日 | 2023-11-16 |
| 申请公布号 | CN117227047A |
| 申请公布日 | 2023-12-15 |
| 授权公布号 | CN117227047B |
| 授权公告日 | 2024-02-09 |
| 分类号 | B29C33/30 |
| 分类 | 塑料的加工;一般处于塑性状态物质的加工; |
| 申请人名称 | 苏州童蒙养正精密制造科技有限公司 |
| 申请人地址 | 江苏省苏州市相城区北桥街道冯店路398号 |
专利法律状态
2024-02-09
授权
状态信息
授权
2024-01-02
实质审查的生效
状态信息
实质审查的生效;IPC(主分类):B29C33/30;申请日:20231116
2023-12-15
公布
状态信息
公布
摘要
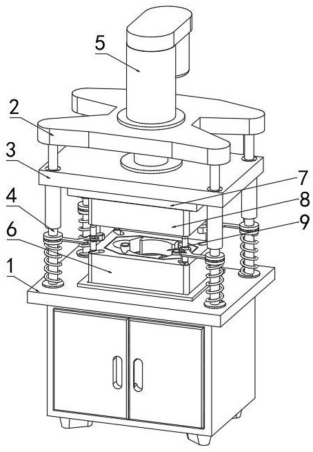
本发明公开了一种金属模具错位修正装置,涉及金属模具错位修正用具技术领域,包括加工台、设于加工台顶面后端的固定板架和设于固定板架顶部的液压缸,加工台的顶面中部安装有下模具,升降座的底面设有安装座;安装座的底部安装有上模具,下模具与上模具内部均安装有芯模,下模具与上模具之间设有修正机构;导向柱的下部均设有用于升降座下降的稳定组件;本发明通过导向柱与稳定组件和修正机构的配合,便于对上下合模发生错位的两个模具起到同步修正的作用,能够将上下两个安装的芯模进行同步的位置矫正操作,提高对于模具进行错位修正的精准性,大幅提高对于模具错位进行修正操作时的便捷性和高效性。


