授权公布号:CN212806339U
一种铝合金粉烘干脱料装置
有效
申请
2020-05-11
申请公布
1970-01-01
授权
2021-03-26
预估到期
2030-05-11
| 申请号 | CN202020766724.8 |
| 申请日 | 2020-05-11 |
| 授权公布号 | CN212806339U |
| 授权公告日 | 2021-03-26 |
| 分类号 | F26B25/00;F26B25/02;F26B11/14;F26B25/04 |
| 分类 | 干燥; |
| 申请人名称 | 苏州童蒙养正精密制造科技有限公司 |
| 申请人地址 | 江苏省苏州市相城区北桥街道冯店路398号 |
专利法律状态
2021-03-26
授权
状态信息
授权
摘要
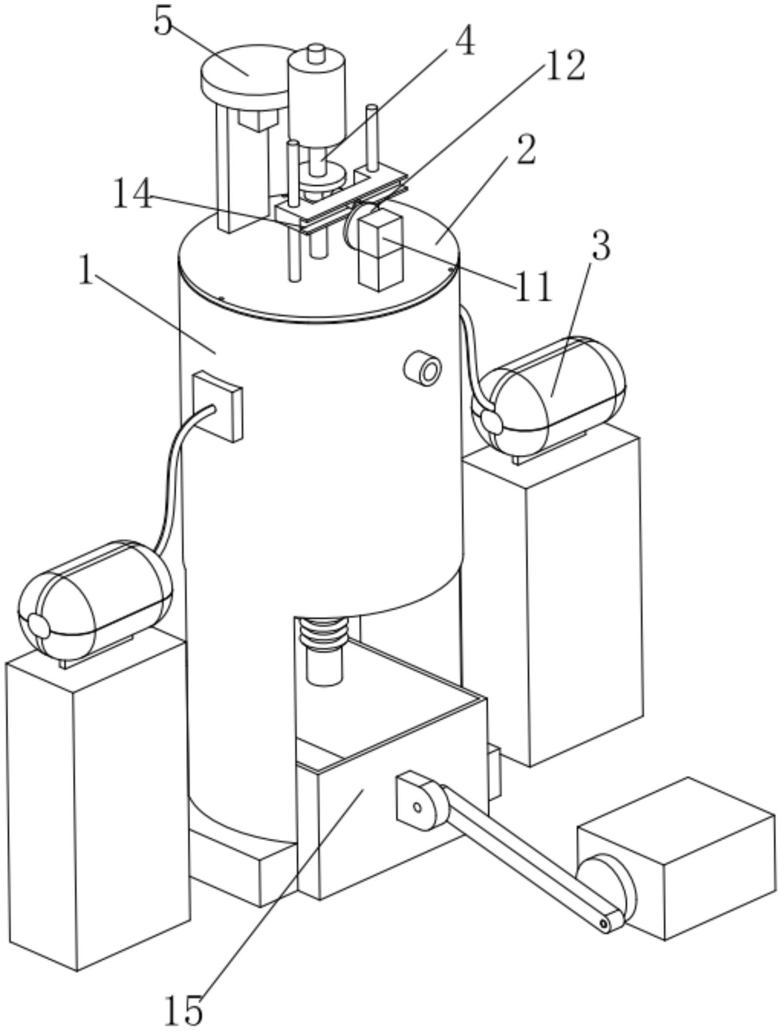
本实用新型公开了一种铝合金粉烘干脱料装置,包括:搅拌箱,搅拌箱由一搅拌壳以及一搅拌盖组成;烘干机,烘干机与搅拌壳固定连接,烘干机延伸至搅拌壳内部;搅拌棒,搅拌棒垂直穿过搅拌盖延伸至搅拌壳内;驱动装置,驱动装置带动搅拌棒旋转;驱动组件,驱动组件带动搅拌棒沿搅拌壳高度方向运动;收料组件,收料组件设于搅拌壳的正下方,搅拌壳下表面设有一出料部,出料部与搅拌箱连通。通过驱动装置以及驱动组件与搅拌棒配合,提高合金粉的搅拌效果,提高合金粉的搅拌的效率,通过烘干机对合金料进行烘干,减小合金料表面的水分,收料组件提高产品搅拌后的脱料效果,减小接下来其他物料搅拌时出现杂质的现象,提高产品的合格率。


