授权公布号:CN213826937U
一种厚度均匀的LED灯具外壳压铸模具
有效
申请
2020-10-13
申请公布
1970-01-01
授权
2021-07-30
预估到期
2030-10-13
| 申请号 | CN202022262920.4 |
| 申请日 | 2020-10-13 |
| 授权公布号 | CN213826937U |
| 授权公告日 | 2021-07-30 |
| 分类号 | B22D17/22;B22D17/20 |
| 分类 | 铸造;粉末冶金; |
| 申请人名称 | 苏州童蒙养正精密制造科技有限公司 |
| 申请人地址 | 江苏省苏州市相城区北桥街道冯店路398号 |
专利法律状态
2021-07-30
授权
状态信息
授权
摘要
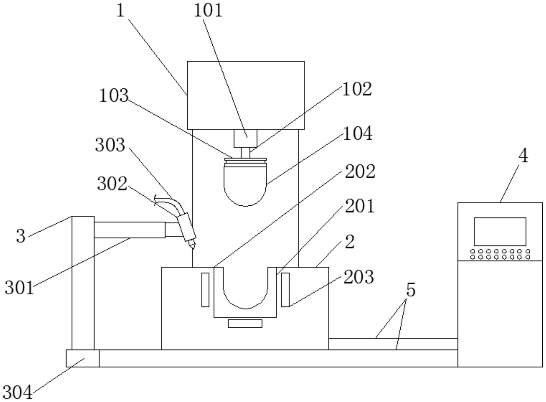
本实用新型公开了一种厚度均匀的LED灯具外壳压铸模具,包括压模架、模具台和注料架,所述压模架前端下方安装有液压缸,所述液压缸下方连接有活塞杆,所述活塞杆下方安装有固定板,所述固定板下方安装有压模,所述模具台内部开设有模具槽,所述模具槽内安装有底模,所述注料架顶部右侧安装有电控伸缩杆,所述电控伸缩杆右侧安装有注料头,所述注料架下方安装有电滑轨。该厚度均匀的LED灯具外壳压铸模具,设置有电加热装置,电加热装置安装在模具台的内模具槽周围,每个模具槽周围共设置有五个电加热装置,在加料前对模具槽内部的底模进行提前的预热,防止底模因快速升温而损坏,同时使得物料的降温速度减缓,有利于压铸出厚度均匀的壳体。


