授权公布号:CN216227058U
一种压铸模具生产用钻孔装置
失效
申请
2021-11-19
申请公布
1970-01-01
授权
2022-04-08
预估到期
2031-11-19
| 申请号 | CN202122843986.7 |
| 申请日 | 2021-11-19 |
| 授权公布号 | CN216227058U |
| 授权公告日 | 2022-04-08 |
| 分类号 | B23B41/00;B23B47/18;B23B47/22;B23B47/20 |
| 分类 | 机床;不包含在其他类目中的金属加工; |
| 申请人名称 | 苏州童蒙养正精密制造科技有限公司 |
| 申请人地址 | 江苏省苏州市相城区北桥街道冯店路398号 |
专利法律状态
2023-12-01
专利权的终止
状态信息
未缴年费专利权终止;IPC(主分类):B23B 41/00;专利号:ZL2021228439867;申请日:20211119;授权公告日:20220408;终止日期:
2022-04-08
授权
状态信息
授权
摘要
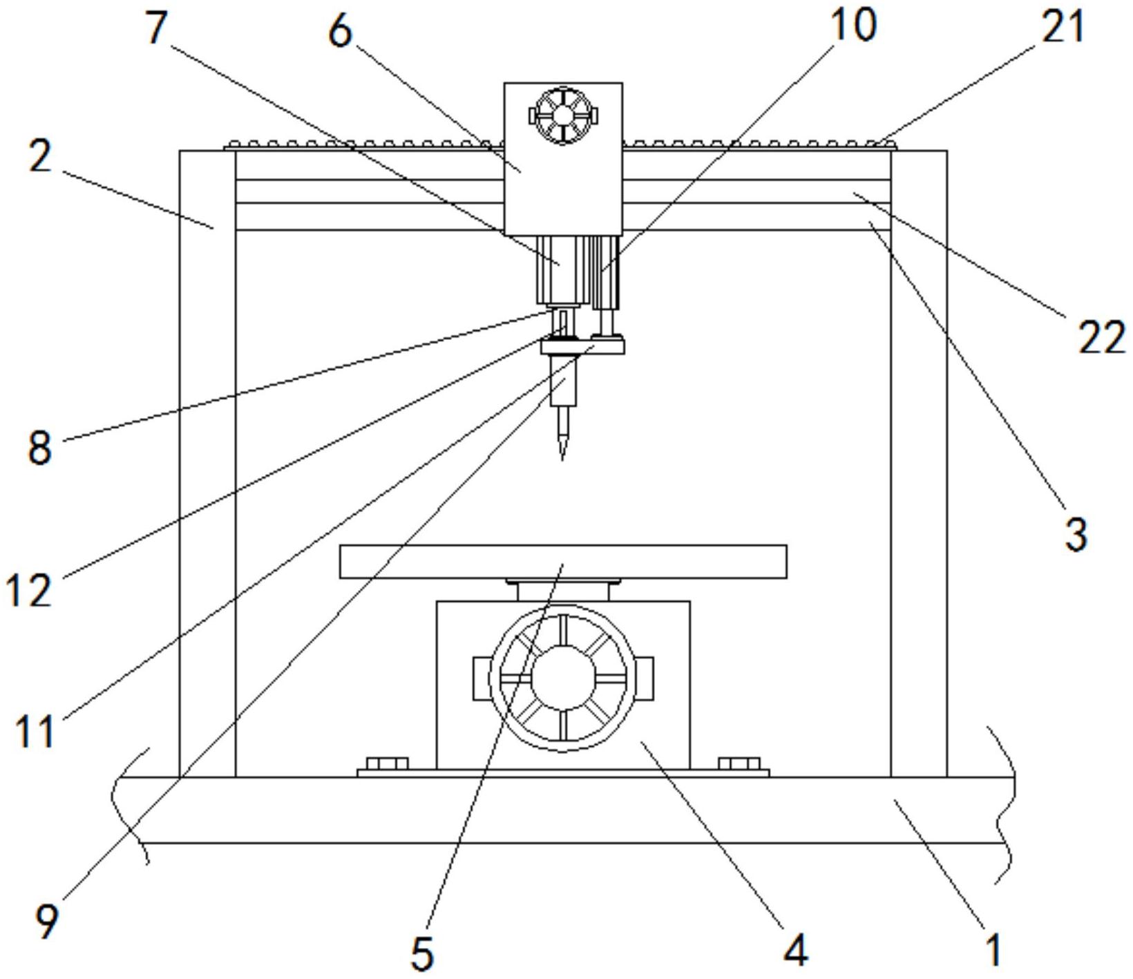
本实用新型涉及一种压铸模具生产用钻孔装置,包括工作台,所述工作台的顶部固定连接有数量为两个的竖板,两个所述竖板之间固定连接有支撑板,所述工作台的顶部固定安装有底仓,所述底仓的顶部设有放置板,所述支撑板的外部套设有矩形环板,所述矩形环板的底面固定连接有第一电机,所述矩形环板的底部设有升降机构,所述底仓的内部设有前后移动机构,所述支撑板的外部设有左右移动机构。该压铸模具生产用钻孔装置,通过第二电机启动,并带动模具前后移动,在第三电机启动后,带动钻孔管一起移动,在模具移动至位于钻孔管底部后,气缸启动,并带动钻孔管向下移动,使整个钻孔过程由机械完成,从而达到自动对模具进行钻孔加工的效果。


