授权公布号:CN216263418U
一种具有自动分离功能的压铸模具
失效
申请
2021-11-08
申请公布
1970-01-01
授权
2022-04-12
预估到期
2031-11-08
| 申请号 | CN202122717194.5 |
| 申请日 | 2021-11-08 |
| 授权公布号 | CN216263418U |
| 授权公告日 | 2022-04-12 |
| 分类号 | B22D18/02;B22D29/06;B22D27/04 |
| 分类 | 铸造;粉末冶金; |
| 申请人名称 | 苏州童蒙养正精密制造科技有限公司 |
| 申请人地址 | 江苏省苏州市相城区北桥街道冯店路398号 |
专利法律状态
2023-11-17
专利权的终止
状态信息
未缴年费专利权终止;IPC(主分类):B22D 18/02;专利号:ZL2021227171945;申请日:20211108;授权公告日:20220412;终止日期:
2022-04-12
授权
状态信息
授权
摘要
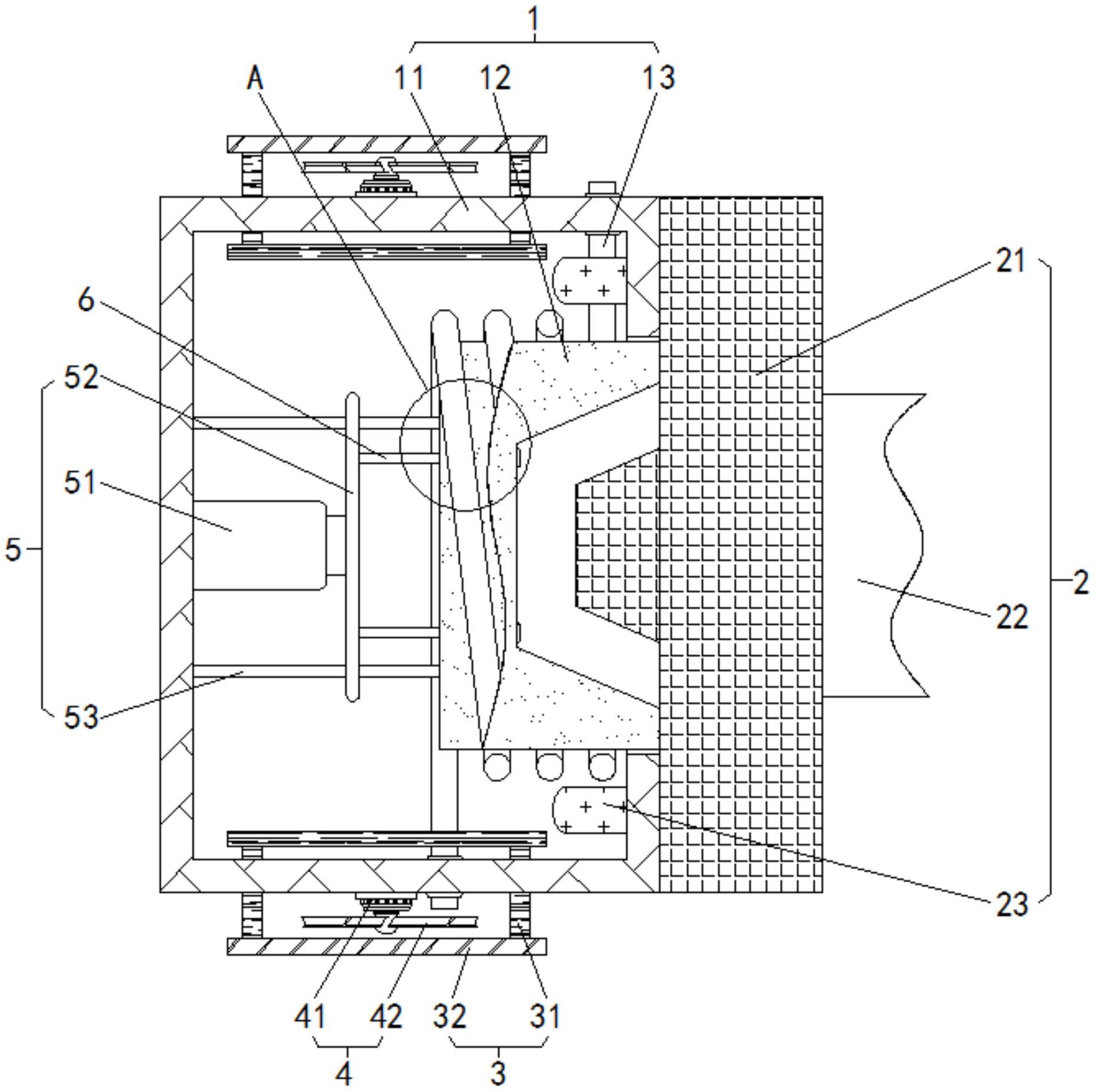
本实用新型涉及一种具有自动分离功能的压铸模具,包括公模机构,所述公模机构的右侧设置有母模机构,所述公模机构的顶部和底部均设置有散热机构,所述公模机构的顶部和底部且位于散热机构的内部设置有加速机构,所述公模机构的内部设置有分离机构,所述分离机构包括液压推杆、横板和稳定杆,所述公模机构的内壁左侧固定安装有液压推杆,所述公模机构的内壁左侧且位于液压推杆的上方和下方均固定安装有稳定杆。该具有自动分离功能的压铸模具,通过散热机构、加速机构、分离机构和顶针机构的设置,使公模机构内部的成品被快速冷却自动脱模,如此,使机械脱模代替人工脱模,加快了脱模速率,也避免了人工被烫伤的可能。


