授权公布号:CN208245792U
一种合金压铸给料精密计量设备
有效
申请
2018-05-25
申请公布
1970-01-01
授权
2018-12-18
预估到期
2028-05-25
| 申请号 | CN201820791209.8 |
| 申请日 | 2018-05-25 |
| 授权公布号 | CN208245792U |
| 授权公告日 | 2018-12-18 |
| 分类号 | B22D17/32;B22D17/30;B22D2/00 |
| 分类 | 铸造;粉末冶金; |
| 申请人名称 | 东莞市镁正隆工业熔炉设备有限公司 |
| 申请人地址 | 广东省东莞市横沥镇城乡路90号 |
专利法律状态
2018-12-18
授权
状态信息
授权
摘要
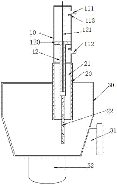
一种合金压铸给料精密计量设备,包括相互连接的气缸和连接件;连接件内部中通形成活动腔;气缸两端分别设有与气泵连接的第一气嘴和第二气嘴,在气缸中设有活塞杆;活塞杆一端连接探针,探针设置在活动腔中,探针通过数据线连接控制器;活塞杆另一端设有活塞,活塞在第一气嘴和第二气嘴之间活动。益效果是:能够对出料量进行精确的控制,从而提高了产品的质量,降低了生产成本。


