授权公布号:CN210577259U
一种配电箱防护结构
有效
申请
2019-10-17
申请公布
1970-01-01
授权
2020-05-19
预估到期
2029-10-17
| 申请号 | CN201921746387.X |
| 申请日 | 2019-10-17 |
| 授权公布号 | CN210577259U |
| 授权公告日 | 2020-05-19 |
| 分类号 | H02B1/54;H02B1/46 |
| 分类 | 发电、变电或配电; |
| 申请人名称 | 福建欧丽舍建筑材料有限公司 |
| 申请人地址 | 福建省福州市闽侯县上街镇沙堤村(闽侯县鑫龙寿五金机械有限公司)整座 |
专利法律状态
2020-05-19
授权
状态信息
授权
摘要
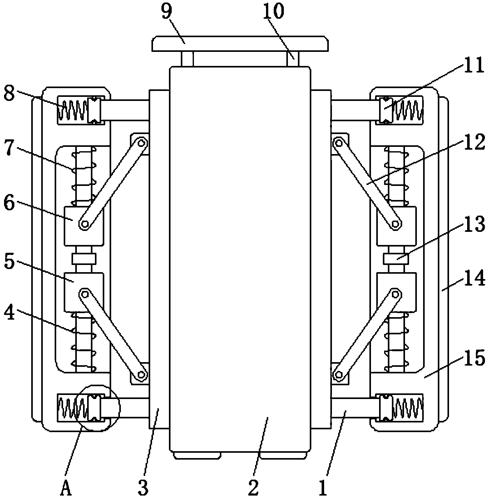
本实用新型公开了一种配电箱防护结构,包括配电箱本体,其特征在于:所述配电箱本体的两侧均固定连接有连接板,所述连接板远离配电箱本体的一侧设有防护板,所述防护板靠近连接板的一侧设有置物槽,所述置物槽内分别滑动连接有第一滑块与第二滑块,所述第一滑块与第二滑块之间设有滑杆,所述滑杆的上下两端分别贯穿第一滑块与第二滑块并与置物槽内相对的侧壁固定连接,所述滑杆与第一滑块和第二滑块均为滑动连接,所述滑杆上套设有第一弹簧与第二弹簧,所述第一弹簧的两端分别与第一滑块的下端和置物槽内底端侧壁固定连接。本实用新型通过缓冲防护机构的设置,增强配电箱的外部防护能力,防止配电箱受碰撞而损坏,提高安全性能。


