授权公布号:CN211574409U
一种管廊多向抗震支架
有效
申请
2019-10-25
申请公布
1970-01-01
授权
2020-09-25
预估到期
2029-10-25
| 申请号 | CN201921805224.4 |
| 申请日 | 2019-10-25 |
| 授权公布号 | CN211574409U |
| 授权公告日 | 2020-09-25 |
| 分类号 | F16L3/10 |
| 分类 | 工程元件或部件;为产生和保持机器或设备的有效运行的一般措施;一般绝热; |
| 申请人名称 | 福建欧丽舍建筑材料有限公司 |
| 申请人地址 | 福建省福州市闽侯县上街镇沙堤村(闽侯县鑫龙寿五金机械有限公司)整座 |
专利法律状态
2020-09-25
授权
状态信息
授权
摘要
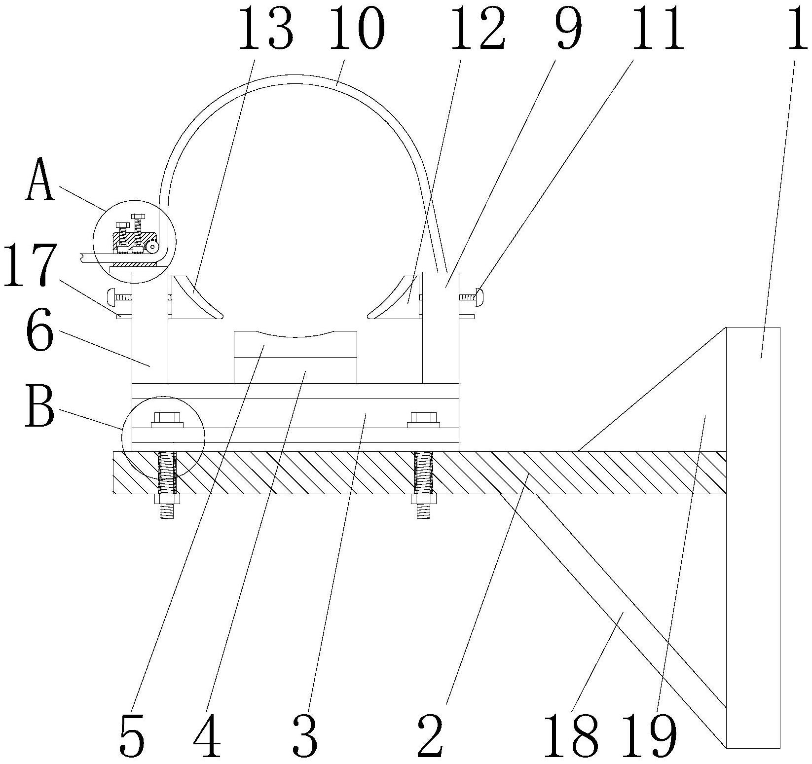
本实用新型涉及管道技术领域,尤其为一种管廊多向抗震支架,包括安装板,所述安装板的左侧栓接有托举杆,所述托举杆的顶部栓接有工型底座,所述工型底座顶部的中端栓接有托举块,所述托举块的顶部粘合有弹性块,所述工型底座顶部的左侧栓接有第一支杆;本实用新型通过安装板、托举杆、工型底座、托举块、弹性块、第一支杆、辅助板、卡接机构、第二支杆、固定带、螺杆、斜块和弹性垫的设置,使得该管廊多向抗震支架,具备既能固定各种直径的管道,也能拥有良好减震效果的优点,解决了目前的支架所要用到的钢箍多样,每次使用都需要携带各种型号的钢箍对管道进行固定,而且这类的支架减震效果差的问题。


