授权公布号:CN215522817U
多层精准定位综合装配式成品抗震支吊架
有效
申请
2021-07-13
申请公布
1970-01-01
授权
2022-01-14
预估到期
2031-07-13
| 申请号 | CN202121592976.4 |
| 申请日 | 2021-07-13 |
| 授权公布号 | CN215522817U |
| 授权公告日 | 2022-01-14 |
| 分类号 | F16M13/02;F16L3/02;F16L3/22;F16L55/035;H02G3/04 |
| 分类 | 工程元件或部件;为产生和保持机器或设备的有效运行的一般措施;一般绝热; |
| 申请人名称 | 浙江甬泰工程技术有限公司 |
| 申请人地址 | 浙江省宁波市海曙区古林镇藕池工业区 |
专利法律状态
2022-01-14
授权
状态信息
授权
摘要
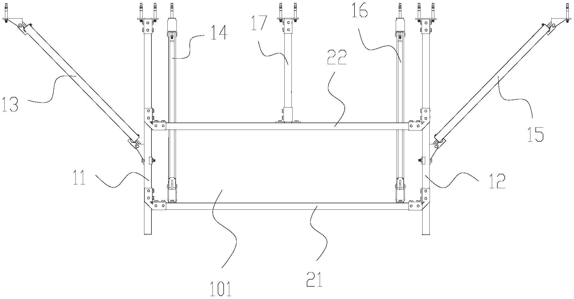
本实用新型公开了一种多层精准定位综合装配式成品抗震支吊架,包括连接至安装面的型材部及连接部;所述型材部包括间隔设置的第一型材件及第二型材件,所述连接部包括设置于所述第一型材件和所述第二型材件之间的第一连接杆、第二连接杆及连接组件,所述第一连接杆与所述第二连接杆间隔设置;所述第一型材件包括间隔设置的第一锁定槽,所述第二型材件包括与所述第一锁定槽相对设置的第二锁定槽,所述连接组件配合所述第一锁定槽及所述第二锁定槽将所述第一连接杆与所述第二连接杆连接至所述第一型材件和所述第二型材件。本实用新型预设锁定槽,可满足不同尺寸情况下的支吊架安装使得支吊架在安装时更灵活,便于调整安装条件。


