授权公布号:CN218477145U
一种PE盘管电熔焊接矫直工装
有效
申请
2022-08-05
申请公布
1970-01-01
授权
2023-02-14
预估到期
2032-08-05
| 申请号 | CN202222047563.9 |
| 申请日 | 2022-08-05 |
| 授权公布号 | CN218477145U |
| 授权公告日 | 2023-02-14 |
| 分类号 | B29C65/78;B29L23/00N |
| 分类 | 塑料的加工;一般处于塑性状态物质的加工; |
| 申请人名称 | 沧州明珠塑料股份有限公司 |
| 申请人地址 | 河北省沧州市运河区沧石路张庄子工业园区 |
专利法律状态
2023-02-14
授权
状态信息
授权
摘要
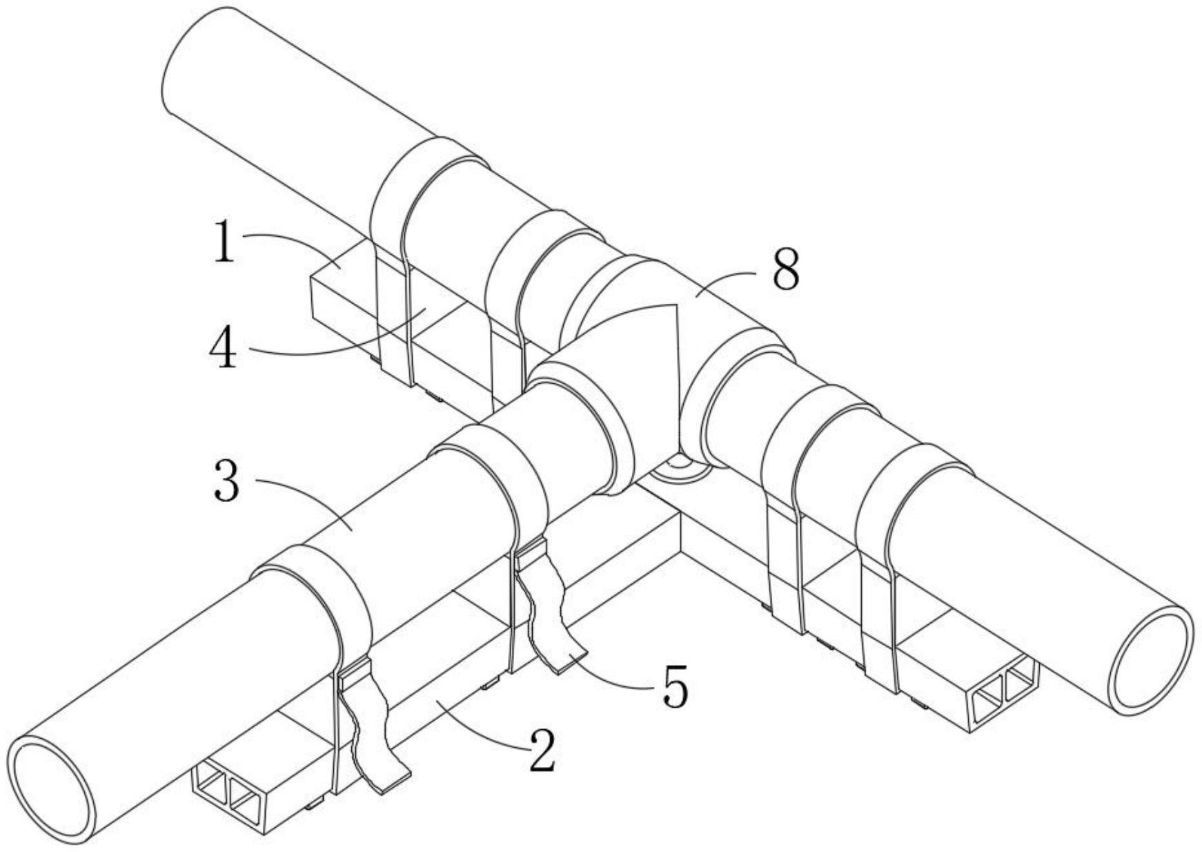
本实用新型公开的一种PE盘管电熔焊接矫直工装,包括横托梁与纵托梁,纵托梁连接在横托梁的中部以使得二者形成T形结构,所述横托梁与纵托梁上均设置有用于承托PE盘管的支撑座以及用于将PE盘管锁紧在支撑座上的束紧带,所述横托梁与纵托梁的连接处上下位置可调的设置有承托板。本实用新型中的矫直工装还具有重量轻便,操作简单,结实耐用,无须教学,造价低廉,外观好看的优点,尤其适用于小管径的PE管的电熔焊接定位,实用性强。


