授权公布号:CN217258494U
红外加热立式钢塑转换热缩套自动包覆设备
有效
申请
2021-12-30
申请公布
1970-01-01
授权
2022-08-23
预估到期
2031-12-30
| 申请号 | CN202123403334.8 |
| 申请日 | 2021-12-30 |
| 授权公布号 | CN217258494U |
| 授权公告日 | 2022-08-23 |
| 分类号 | B29C65/14;B29C65/66;B29C35/08 |
| 分类 | 塑料的加工;一般处于塑性状态物质的加工; |
| 申请人名称 | 沧州明珠塑料股份有限公司 |
| 申请人地址 | 河北省沧州市运河区沧石路张庄子工业园区 |
专利法律状态
2022-08-23
授权
状态信息
授权
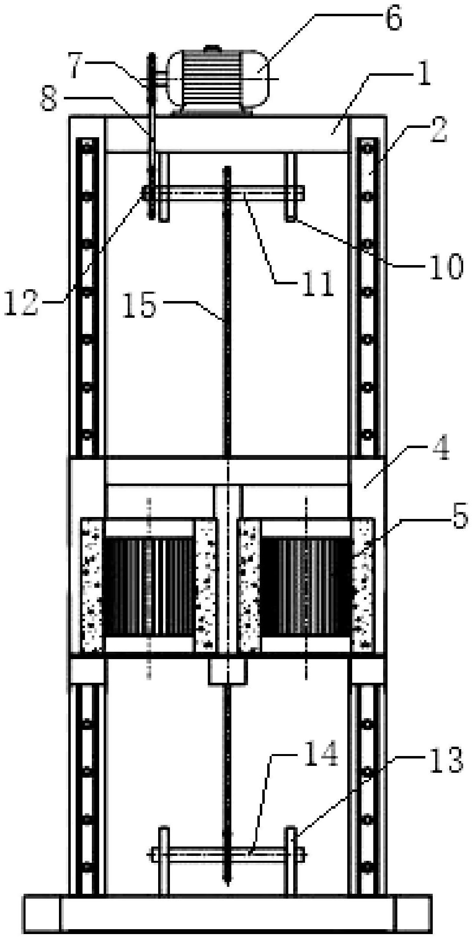
摘要
本实用新型涉及包覆设备的技术领域,特别是涉及一种红外加热立式钢塑转换热缩套自动包覆设备,其减少了人为烘烤存在的不稳定因素,达到热塑后的收缩工艺要求,提高装置的实用性;包括机架、滑轨、升降架、红外加热圈、电机、第一链轮、第一链条、链条连接器和传动机构,机架上设置有放置板,两组滑轨对称安装在机架上,两组滑轨上均可滑动设置有滑块,升降架与两组滑块固定连接,两组红外加热圈对称可拆卸安装在升降架上,电机固定安装在机架顶端,第一链轮输入端与电机输出端连接,传动机构固定安装在机架上,传动机构和第一链轮通过第一链条传动连接,链条连接器固定安装在升降架上,传动机构与链条连接器固定连接。


