授权公布号:CN217667689U
一种用于钢塑转换的全自动组装设备
有效
申请
2022-09-09
申请公布
1970-01-01
授权
2022-10-28
预估到期
2032-09-09
| 申请号 | CN202222391585.7 |
| 申请日 | 2022-09-09 |
| 授权公布号 | CN217667689U |
| 授权公告日 | 2022-10-28 |
| 分类号 | B23P19/04;B23P21/00 |
| 分类 | 机床;不包含在其他类目中的金属加工; |
| 申请人名称 | 沧州明珠塑料股份有限公司 |
| 申请人地址 | 河北省沧州市运河区沧石路张庄子工业园区 |
专利法律状态
2022-10-28
授权
状态信息
授权
摘要
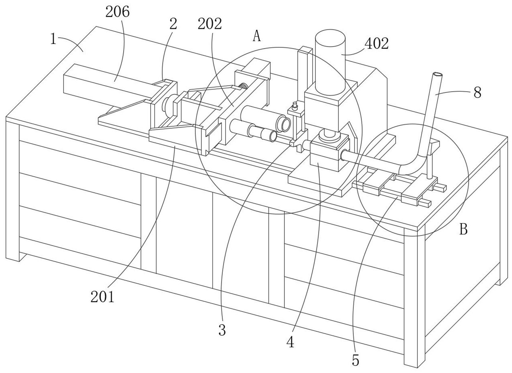
本实用新型公开的一种用于钢塑转换的全自动组装设备,包括工作台,所述工作台上自左至右的依次设置有压件机构、钢管定位机构与钢管固定机构;所述压件机构包括可左右移动的设置在工作台上的第一移动架以及可前后移动的设置在第一移动架上的第二移动架,所述第二移动架在朝向钢管固定机构的一侧设置有PE管安装套以及锁紧环安装套。本实用新型整体采用卧式结构,便于操作与安全防护,通过设置有钢管定位机构,保证了上件位置的一致性,利于提高装配精度,并且采用锁紧环与PE管双工位切换的形式,在装配过程中无需人为干涉,可自行完成工位之间的转换,大大的提高了工作效率。


