授权公布号:CN218408786U
一种连接结构
有效
申请
2022-08-31
申请公布
1970-01-01
授权
2023-01-31
预估到期
2032-08-31
| 申请号 | CN202222300946.2 |
| 申请日 | 2022-08-31 |
| 授权公布号 | CN218408786U |
| 授权公告日 | 2023-01-31 |
| 分类号 | F16L3/02;H02G3/04 |
| 分类 | 工程元件或部件;为产生和保持机器或设备的有效运行的一般措施;一般绝热; |
| 申请人名称 | 苏州华固建筑配套工程有限公司 |
| 申请人地址 | 江苏省苏州市相城区高铁新城太阳路2266号苏州百事吉汽车服务用房4号厂房三层北区A002区域 |
专利法律状态
2023-01-31
授权
状态信息
授权
摘要
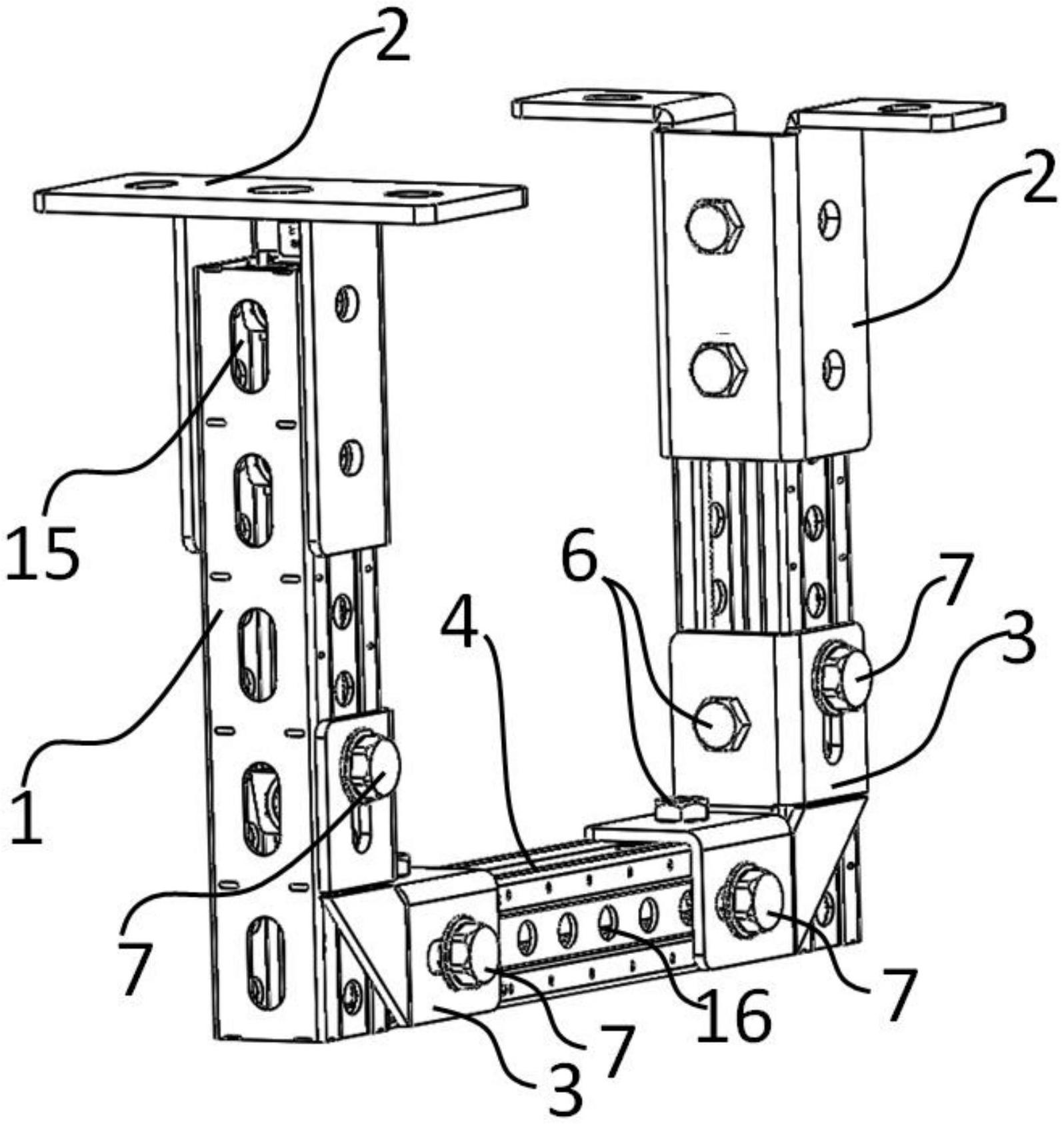
本实用新型公开了一种连接结构,包括立柱、横担、连接件、底座或/和马鞍件,立柱和横担均包括背板以及两块相互平行且与背板固定的侧板;侧板边缘向内侧卷边;背板和侧板上都开有若干沿轴向排布的连接孔;连接件包括与立柱连接的立柱连接部以及与横担连接的横担连接部;立柱连接部和横担连接部均包括基板以及固定在基板上的侧板;立柱连接部和横担连接部的基板相互固定,且其基板和侧板分别开设有连接孔,基板通过第一紧固件与卷边末端的齿牙紧固连接,连接件的侧板通过第二紧固件与立柱侧板或横担侧板紧固连接。具有上述连接结构,其立柱和横梁结构相同,降低了开模制造的成本,提高了经济效益。同时结构简单,安装拆卸方便。


