授权公布号:CN116526406B
一种用于管廊的铝合金电缆支架
有效
申请
2023-07-05
申请公布
2023-08-01
授权
2023-09-19
预估到期
2043-07-05
| 申请号 | CN202310815218.1 |
| 申请日 | 2023-07-05 |
| 申请公布号 | CN116526406A |
| 申请公布日 | 2023-08-01 |
| 授权公布号 | CN116526406B |
| 授权公告日 | 2023-09-19 |
| 分类号 | H02G9/06 |
| 分类 | 发电、变电或配电; |
| 申请人名称 | 苏州华固建筑配套工程有限公司 |
| 申请人地址 | 江苏省苏州市相城区高铁新城太阳路2266号5幢(1号楼)1层110G室 |
专利法律状态
2023-09-19
授权
状态信息
授权
2023-08-18
实质审查的生效
状态信息
实质审查的生效;IPC(主分类):H02G9/06;专利申请号:2023108152181;申请日:20230705
2023-08-01
公布
状态信息
公布
摘要
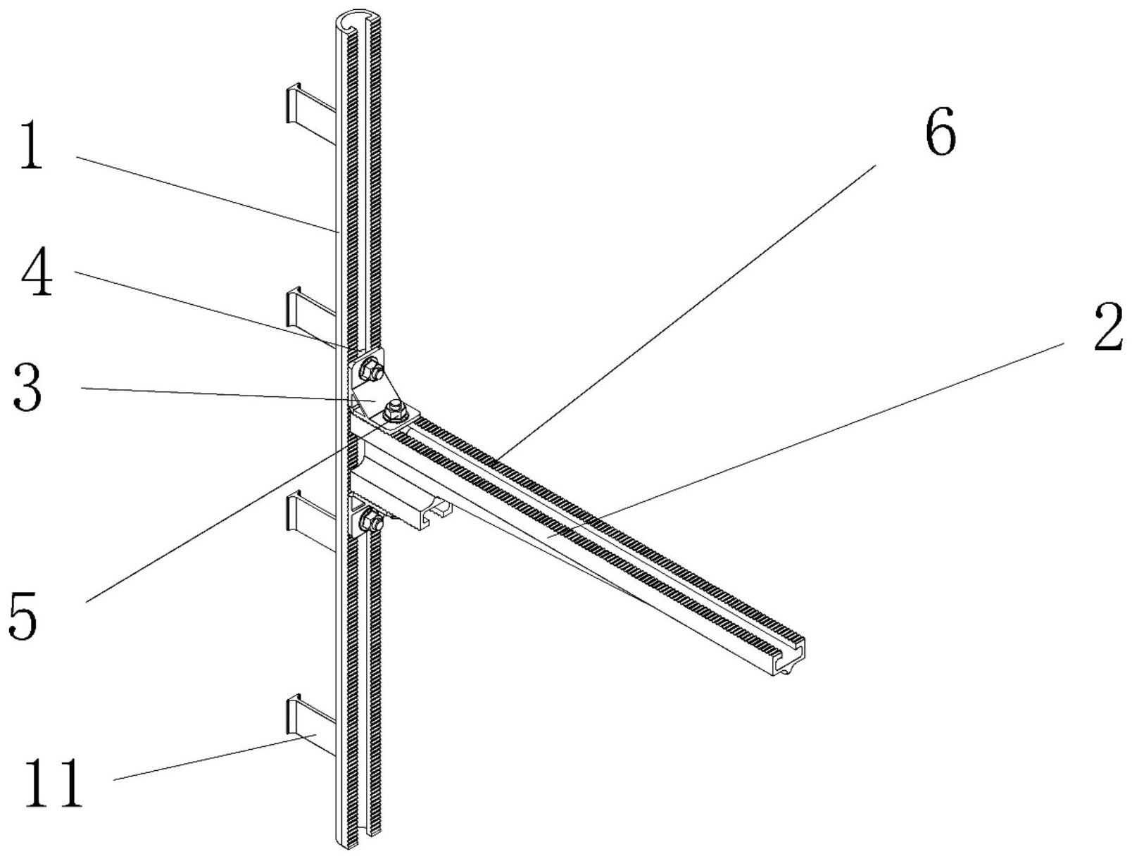
本发明公开了一种用于管廊的铝合金电缆支架,包括:预埋槽钢和托臂,所述预埋槽钢和托臂之间设置有连接件,所述连接件在托臂上方和下方各有一个,所述连接件与预埋槽钢和托臂之间均通过T形螺栓连接,所述T形螺栓使用锁紧螺母锁紧,所述托臂水平设置,所述预埋槽钢背面带有钢锚,所述预埋槽钢在槽口处设有与槽口平行的折耳。本发明提供了一种用于管廊的铝合金电缆支架,能够承载更大的压力,使整个支架均匀受力,能够承载更大的载荷,连接更稳固,具有较高的可靠性;安装方便快捷,不需要使用焊接、打孔,配件标准统一,后期维护也比较方便。


