授权公布号:CN211496047U
一种Z型钢垛料机
有效
申请
2018-12-26
申请公布
1970-01-01
授权
2020-09-15
预估到期
2028-12-26
| 申请号 | CN201822194501.4 |
| 申请日 | 2018-12-26 |
| 授权公布号 | CN211496047U |
| 授权公告日 | 2020-09-15 |
| 分类号 | B65G57/16 |
| 分类 | 输送;包装;贮存;搬运薄的或细丝状材料; |
| 申请人名称 | 天津市乾昇金属制品有限公司 |
| 申请人地址 | 天津市静海县蔡公庄镇友发德众钢管斜对面 |
专利法律状态
2020-09-15
授权
状态信息
授权
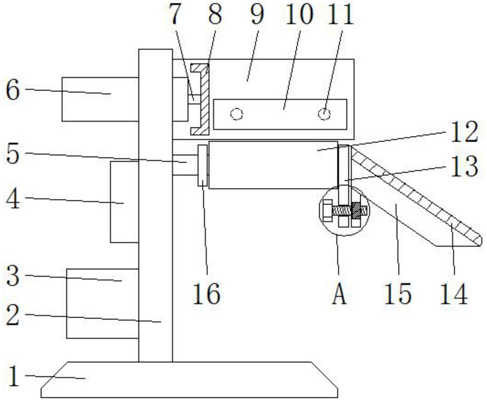
摘要
本实用新型公开了一种Z型钢垛料机,包括底板、支撑板、控制器、固定杆、液压缸、第一限位块和滑杆,所述底板上表面焊接有支撑板,所述支撑板上端一侧外壁焊接有固定杆,所述固定杆表面套接有橡胶轮,所述固定杆一端焊接有第一限位块,所述第一限位块一侧活动安装有滑杆,所述支撑板背离固定杆一侧外壁嵌入安装有对称分布的液压缸,所述液压缸一侧外壁均插接有行程杆,所述行程杆一端外壁安装有推板,所述支撑板上端一侧外壁焊接有限位板,所述限位板一侧外壁安装有行程开关,所述行程开关一端与触板相连接。本实用新型通过设置行程开关控制器推板将橡胶轮表面的Z型钢推落至滑杆上表面,减少了人工搬运Z型钢的工作强度,实际操作更加便捷。


