授权公布号:CN218468397U
一种具有耐腐蚀功能的耐火风管
有效
申请
2022-07-13
申请公布
1970-01-01
授权
2023-02-10
预估到期
2032-07-13
| 申请号 | CN202221809239.X |
| 申请日 | 2022-07-13 |
| 授权公布号 | CN218468397U |
| 授权公告日 | 2023-02-10 |
| 分类号 | F16L3/02;F16L57/04;F16L53/70;F16L58/02;F16L23/024;F16L57/06;F24F13/02;B32B1/08;B32B17/02;B32B17/06;B32B33/00 |
| 分类 | 工程元件或部件;为产生和保持机器或设备的有效运行的一般措施;一般绝热; |
| 申请人名称 | 江苏思慕德建筑安全系统有限公司 |
| 申请人地址 | 江苏省苏州市吴中经济开发区盛虹路19号4幢302室 |
专利法律状态
2023-02-10
授权
状态信息
授权
摘要
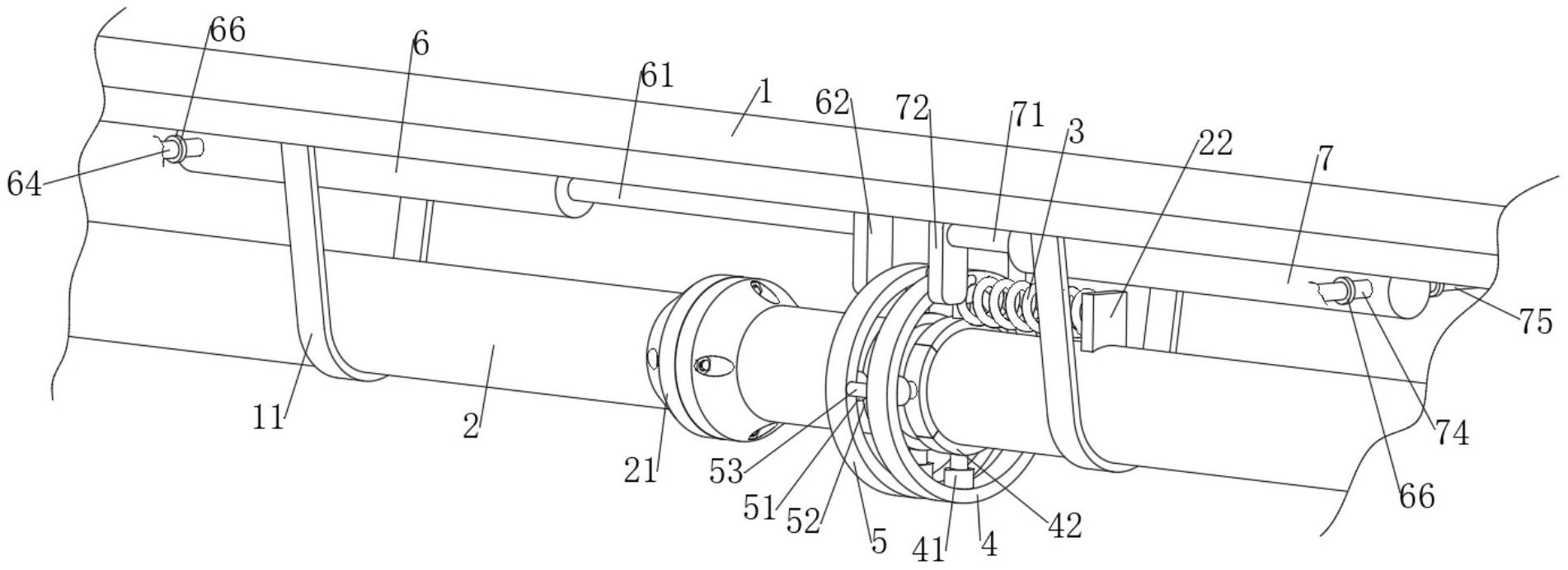
本实用新型公开了一种具有耐腐蚀功能的耐火风管,包括风管,风管通过拉带与墙体固定,风管从内到外依次由高压耐火层、玻璃纤维层和聚磷酸铵阻燃层组成,风管上固定连接有支撑块,支撑块上固定连接有记忆合金,记忆合金上设有用于对风管降温清洁且防腐蚀的涂抹机构;本实用新型通过从内到外依次高压耐火层、玻璃纤维层和聚磷酸铵阻燃层,达到了风管即耐腐蚀,又耐火耐高温的效果;通过设置涂抹机构,达到了对风管擦拭,从而在高温时第一擦拭体对风管降温且清洁,避免风管温度太高且同时上面的杂质对风管腐蚀,在低温时,第二擦拭体对风管擦拭抗腐蚀液,从而进一步提高了风管的抗腐蚀性的效果。


