授权公布号:CN211315484U
一种单管抗震支吊架
有效
申请
2019-10-14
申请公布
1970-01-01
授权
2020-08-21
预估到期
2029-10-14
| 申请号 | CN201921719273.6 |
| 申请日 | 2019-10-14 |
| 授权公布号 | CN211315484U |
| 授权公告日 | 2020-08-21 |
| 分类号 | F16L55/035 |
| 分类 | 工程元件或部件;为产生和保持机器或设备的有效运行的一般措施;一般绝热; |
| 申请人名称 | 江苏思慕德建筑安全系统有限公司 |
| 申请人地址 | 江苏省苏州市吴中经济开发区兴南路13号第2栋厂房 |
专利法律状态
2020-08-21
授权
状态信息
授权
摘要
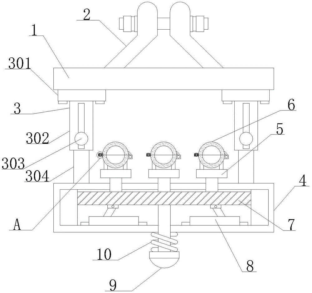
本实用新型公开了一种单管抗震支吊架,包括固定板、悬挂件、高度调节组件、底部横板、连接件、管夹组件、支撑板、抗震装置、缓冲杆和减震弹簧,所述固定板的顶部固定安装有悬挂件,所述固定板的底部设置有高度调节组件,所述高度调节组件的底部固定安装有底部横板,所述底部横板的内部活动连接有支撑板。本实用新型通过对常用的支架进行改进,使其在使用时可以方便的对水管的悬挂高度进行调节,方便安装,再由设置的抗震装置使其在使用时可以将水管运作时产生的震动吸收,从而延长该支架的使用寿命,且多工位的设置也极大方便了安装,且其结构简单,易于实现,方便安装和后期的维护,具有广阔的发展空间以及较高的推广价值。


