授权公布号:CN211449894U
一种综合成品支吊架组件
有效
申请
2019-10-14
申请公布
1970-01-01
授权
2020-09-08
预估到期
2029-10-14
| 申请号 | CN201921718649.1 |
| 申请日 | 2019-10-14 |
| 授权公布号 | CN211449894U |
| 授权公告日 | 2020-09-08 |
| 分类号 | F16L3/11;F16L55/035 |
| 分类 | 工程元件或部件;为产生和保持机器或设备的有效运行的一般措施;一般绝热; |
| 申请人名称 | 江苏思慕德建筑安全系统有限公司 |
| 申请人地址 | 江苏省苏州市吴中经济开发区兴南路13号第2栋厂房 |
专利法律状态
2020-09-08
授权
状态信息
授权
摘要
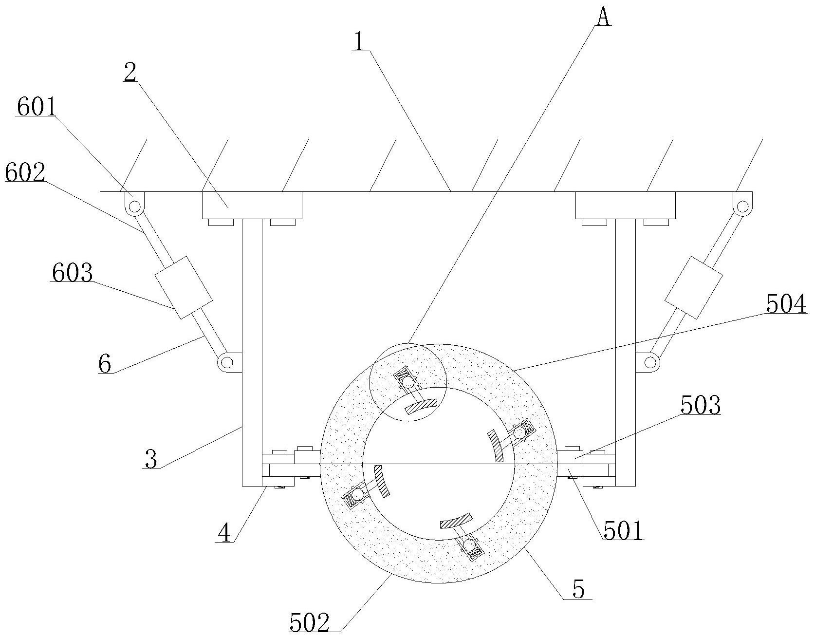
本实用新型公开了一种综合成品支吊架组件,包括墙体、固定板、悬吊杆、夹板、管夹组件和减震装置,所述墙体的底部固定安装有固定板,所述固定板的底部固定安装有悬吊杆,所述悬吊杆相对的一侧固定安装有夹板,所述夹板相对的一侧固定安装有管夹组件,所述悬吊杆相背的一侧设置有减震装置。本实用新型在使用时可以大大提高其抗震性能,从而有效保护支架本体以管道的使用寿命及其使用性能,同时通过对常用的管夹组件进行改进,使得该综合成品支吊架组件在使用时,可以从各个角度对管道进行保护,且其结构简单,易于实现,便于安装以及后期的维护和更换,具有广阔的发展空间以及较高的推广价值。


