授权公布号:CN218469283U
一种便于组合安装的耐火风管
有效
申请
2022-07-13
申请公布
1970-01-01
授权
2023-02-10
预估到期
2032-07-13
| 申请号 | CN202221809254.4 |
| 申请日 | 2022-07-13 |
| 授权公布号 | CN218469283U |
| 授权公告日 | 2023-02-10 |
| 分类号 | F24F13/02;F16L21/08;F16L57/04 |
| 分类 | 供热;炉灶;通风; |
| 申请人名称 | 江苏思慕德建筑安全系统有限公司 |
| 申请人地址 | 江苏省苏州市吴中经济开发区盛虹路19号4幢302室 |
专利法律状态
2023-02-10
授权
状态信息
授权
摘要
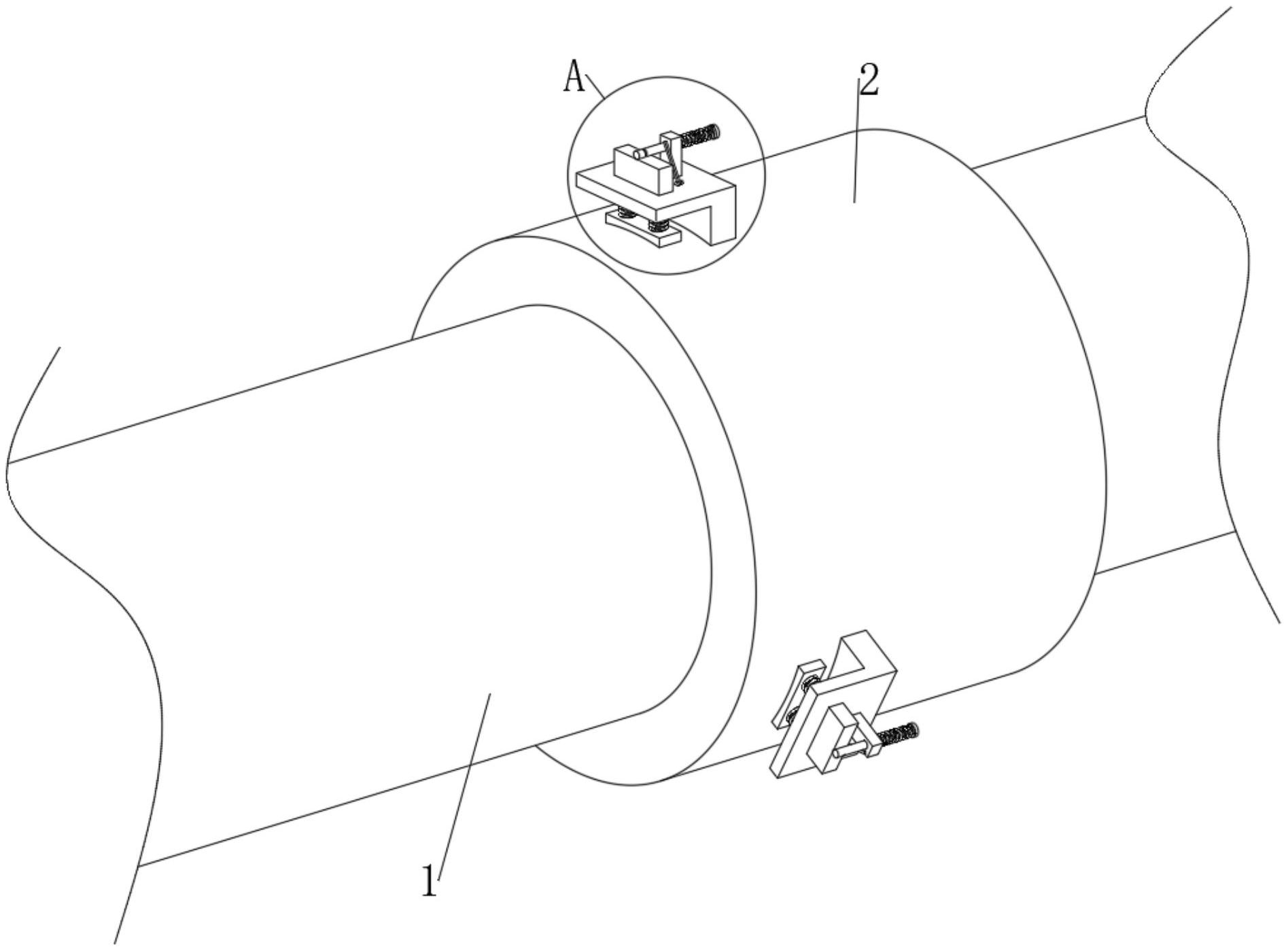
本实用新型公开了一种便于组合安装的耐火风管,属于风管领域,一种便于组合安装的耐火风管,包括管体,管体的一端固定连接有安装筒,管体的另一端固定连接有定位筒,定位筒插接在安装筒内,安装筒上滑动连接有卡块,管体上开设有与卡块配合的卡槽,卡块内固定连接有双金属片,卡块内滑动连接有顶杆。本实用新型通过当管体内通过的气体温度过高时热量则会传递到卡块上,使得在管体内通过的气体热量过高而造成管体以及安装在管体上的部件受热膨胀时,防火胶圈向远离安装筒的方向移动微量距离,避免各部件膨胀时对防火胶圈造成进一步的挤压而使得防火胶圈的形变程度加大而使得其耐用性降低导致管体之间“漏风”的情况发生。


