授权公布号:CN218178160U
一种多功能耐火风管
有效
申请
2022-05-25
申请公布
1970-01-01
授权
2022-12-30
预估到期
2032-05-25
| 申请号 | CN202221273796.4 |
| 申请日 | 2022-05-25 |
| 授权公布号 | CN218178160U |
| 授权公告日 | 2022-12-30 |
| 分类号 | F16L9/21;F16L9/02 |
| 分类 | 工程元件或部件;为产生和保持机器或设备的有效运行的一般措施;一般绝热; |
| 申请人名称 | 江苏思慕德建筑安全系统有限公司 |
| 申请人地址 | 江苏省苏州市吴中经济开发区盛虹路19号4幢302室 |
专利法律状态
2022-12-30
授权
状态信息
授权
摘要
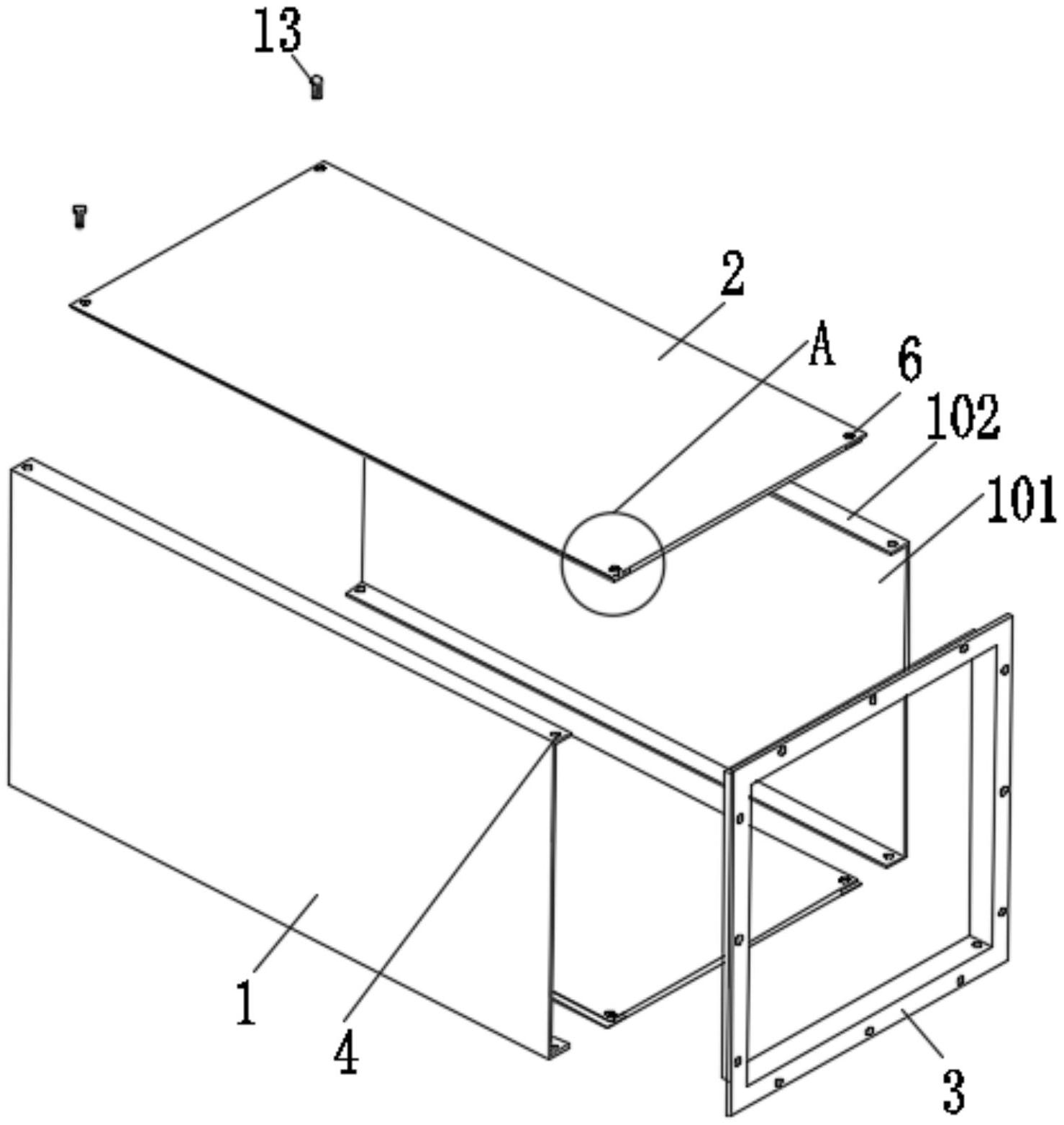
本实用新型公开了一种多功能耐火风管,包括成对的侧板一、侧板二和端部法兰,侧板一为U型,同时侧板一的四角处均设置连接孔一;侧板二的侧面设有用于配合插接部插入的插接槽,插接槽的端部设有与连接孔一对应的连接孔二;端部法兰包括法兰本体,法兰本体的内侧面设有连接框,连接框上设置有与连接孔二对应的连接孔三;侧板一和侧板二均包括间距设置的内板和外板,在内板和外板之间形成填充腔,填充腔内设有隔音棉,可拆卸连接的侧板一、侧板二和端部法兰在运输过程中实现了风管的分解,通过堆叠减小占用空间,增加单次运输的风管数量,进而提高运输效率,降低运输成本,通过隔音棉的吸音作用减少气流引起的噪音传递至风管外,提升其降噪效果。


