授权公布号:CN218615538U
一种碳纤维内部预埋件模具组件
有效
申请
2022-11-14
申请公布
1970-01-01
授权
2023-03-14
预估到期
2032-11-14
| 申请号 | CN202223035218.X |
| 申请日 | 2022-11-14 |
| 授权公布号 | CN218615538U |
| 授权公告日 | 2023-03-14 |
| 分类号 | B29C70/68;B29C33/44 |
| 分类 | 塑料的加工;一般处于塑性状态物质的加工; |
| 申请人名称 | 江苏澳盛复合材料科技有限公司 |
| 申请人地址 | 江苏省苏州市吴江区平望镇中鲈生态科技工业园 |
专利法律状态
2023-03-14
授权
状态信息
授权
摘要
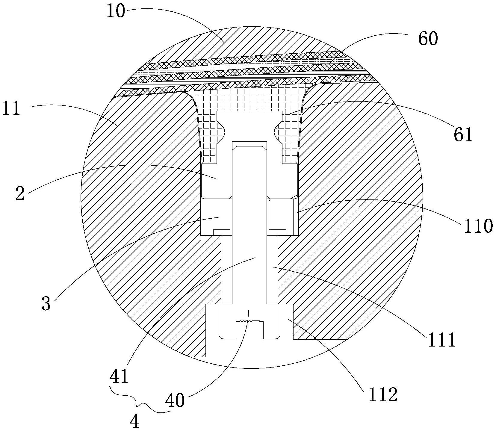
本实用新型涉及一种碳纤维内部预埋件模具组件,包括:模具主体、预埋件、垫片、紧固件,模具主体包括上模具、下模具,下模具开设有预埋孔,预埋孔具有上孔段、中孔段;预埋件具有预埋件头部、预埋件杆部,预埋件头部在上开设有螺纹孔;垫片开设有通孔;紧固件的具有紧固件头部、紧固件杆部,紧固件杆部的周面上具有螺纹,在合模时,垫片、预埋件依次放置在上孔段内,紧固件杆部从中孔段穿过垫片的通孔与预埋件头部的螺纹孔螺纹连接。本实用新型保证了预埋件的拉拔力、扭转力,拉拔力最大可达1700N,最大扭矩>10N.m;脱模时,可保证预埋件的外观和性能不会受损;一体模压净尺寸成型,减少加工工序,缩减成本。


