授权公布号:CN215058711U
一种高效抗震膨胀锚栓
有效
申请
2021-02-02
申请公布
1970-01-01
授权
2021-12-07
预估到期
2031-02-02
| 申请号 | CN202120294606.6 |
| 申请日 | 2021-02-02 |
| 授权公布号 | CN215058711U |
| 授权公告日 | 2021-12-07 |
| 分类号 | F16B13/06 |
| 分类 | 工程元件或部件;为产生和保持机器或设备的有效运行的一般措施;一般绝热; |
| 申请人名称 | 上海康驰建筑技术有限公司 |
| 申请人地址 | 上海市普陀区武宁路423号4幢2078室 |
专利法律状态
2021-12-07
授权
状态信息
授权
摘要
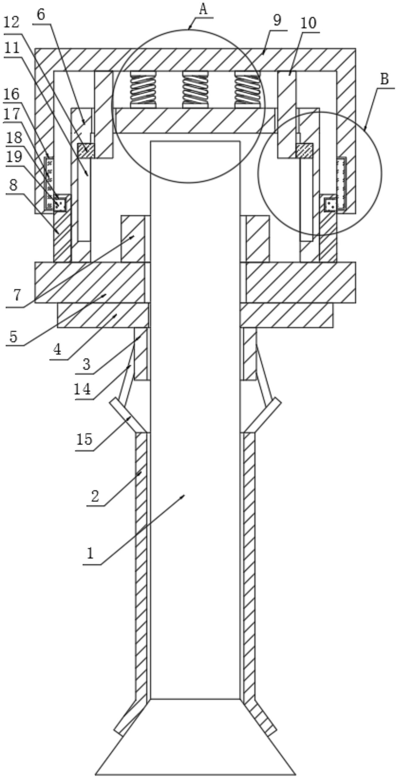
本实用新型公开了一种高效抗震膨胀锚栓,具体涉及锚栓的技术领域,包括螺栓和膨胀管,所述膨胀管套设于螺栓底端外部,所述膨胀管顶部设有支撑管,所述支撑管套设于螺栓外壁,所述支撑管和膨胀管之间固定设有定位装置,所述定位装置设置于螺栓两侧,所述支撑管顶部固定设有连接板,所述连接板顶部固定设有固定板,所述固定板和连接板均套设于螺栓顶端外壁,所述固定板顶部设有防护板。本实用新型通过防护板与螺纹管的连接,对螺栓和紧固螺母整体进行了防护,并在受到撞击时安装板首先与外界的撞击接触,然后对弹簧进行挤压,使弹簧将受到的冲击力进行分散和减缓,避免强大的冲击力对螺栓和紧固螺母造成损坏。


