授权公布号:CN218237667U
一种空调系统用螺杆式锚栓组件
有效
申请
2022-01-05
申请公布
1970-01-01
授权
2023-01-06
预估到期
2032-01-05
| 申请号 | CN202220010278.7 |
| 申请日 | 2022-01-05 |
| 授权公布号 | CN218237667U |
| 授权公告日 | 2023-01-06 |
| 分类号 | F24F1/62;F24F13/32 |
| 分类 | 供热;炉灶;通风; |
| 申请人名称 | 上海康驰建筑技术有限公司 |
| 申请人地址 | 上海市普陀区武宁路423号4幢2078室 |
专利法律状态
2023-01-06
授权
状态信息
授权
摘要
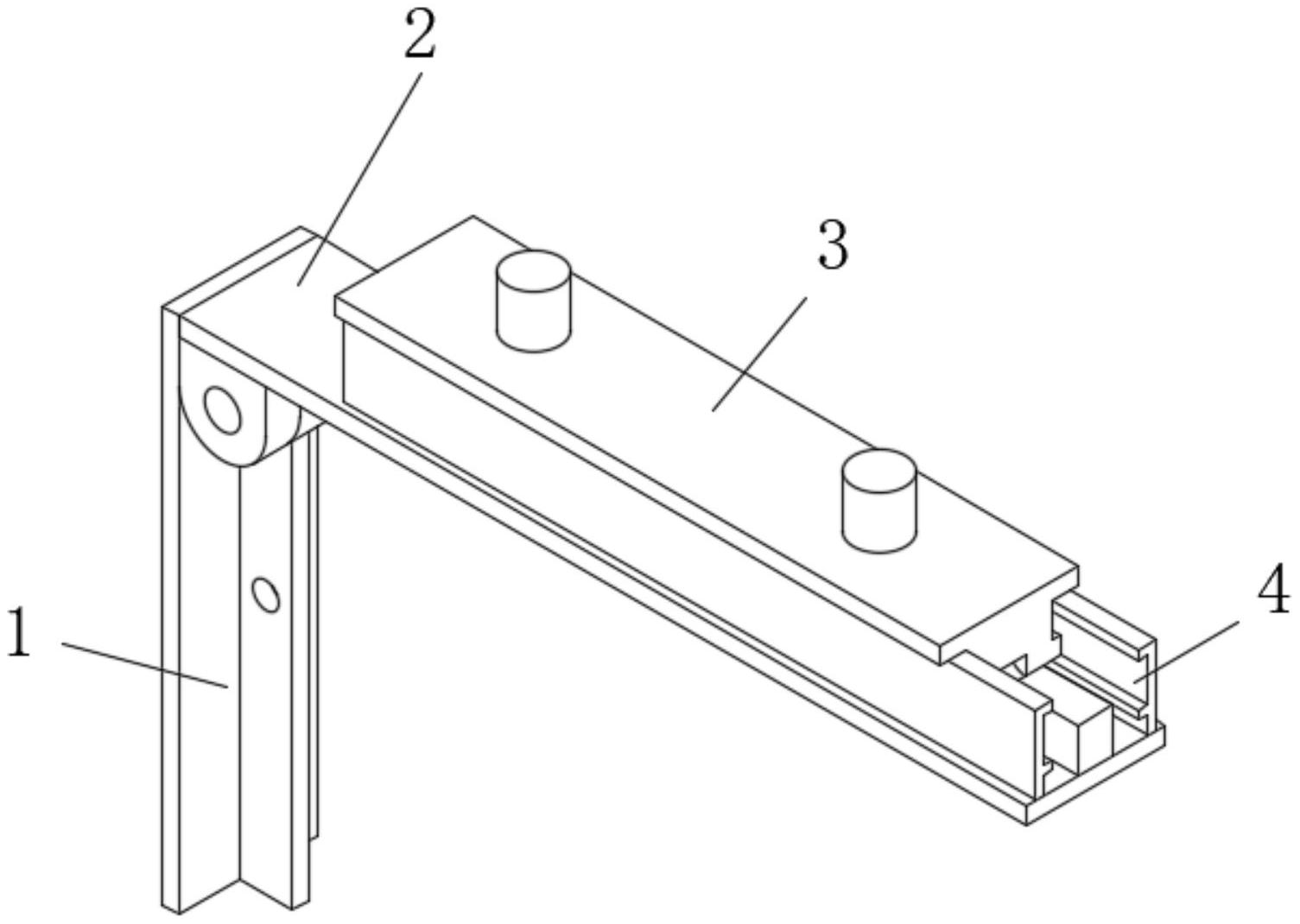
本实用新型公开了一种空调系统用螺杆式锚栓组件,包括固定架、横梁架、滑动架与定位板,所述横梁架铰接固定架的上端,所述滑动架滑动安装与横梁架的上表面,所述横梁架的上表面固定安装有定位边,所述定位板为对称两片,两片所述的定位板夹持于滑动架的两侧;通过固定架与横梁架的组合,使得整体能够进行角度的调节,而调节支杆的作用能够有效的对活动的结构进行支撑,滑动架通过自身的滑动,能够进行支撑长度,从而实现更多的适配性。


