授权公布号:CN216999087U
一种可快速拆装的连接件
有效
申请
2022-02-17
申请公布
1970-01-01
授权
2022-07-19
预估到期
2032-02-17
| 申请号 | CN202220320656.1 |
| 申请日 | 2022-02-17 |
| 授权公布号 | CN216999087U |
| 授权公告日 | 2022-07-19 |
| 分类号 | E01B9/02;E01B9/68 |
| 分类 | 道路、铁路或桥梁的建筑; |
| 申请人名称 | 上海康驰建筑技术有限公司 |
| 申请人地址 | 上海市普陀区武宁路423号4幢2078室 |
专利法律状态
2022-07-19
授权
状态信息
授权
摘要
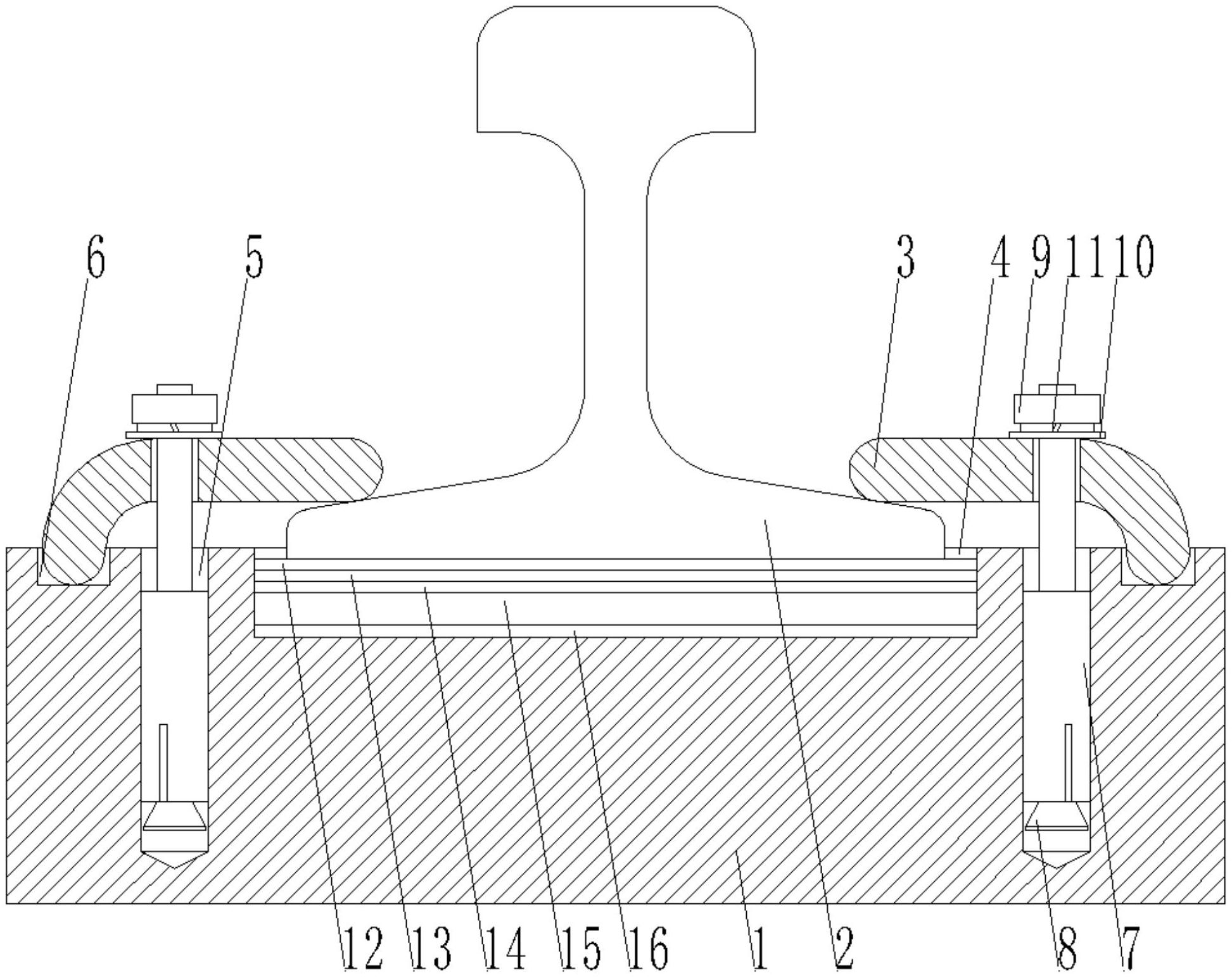
本实用新型公开了一种可快速拆装的连接件,包括轨枕、位于轨枕上方的钢轨和相对设于钢轨左右两侧的两个压片,所述轨枕的上表面开有用于放置钢轨的通槽,所述通槽为矩形槽且贯穿轨枕的前后两侧面,所述轨枕的上表面且位于通槽的左右两侧均开有圆孔和凹槽,两个所述圆孔位于两个凹槽之间,两个所述压片的一侧分别位于两个凹槽的内部,两个所述压片的另一侧均与钢轨接触,两个所述压片通过安装于两个圆孔内的两个膨胀螺栓组件固定于轨枕上,本实用新型通过通槽、两个凹槽和两个膨胀螺栓组件的设计,可以实现快速安装和快速拆卸的目的,拆装快速且方便,在轨道的铺设过程中提高了工作效率。


