授权公布号:CN217000147U
一种可拼接的双拼背打孔槽钢
有效
申请
2022-01-05
申请公布
1970-01-01
授权
2022-07-19
预估到期
2032-01-05
| 申请号 | CN202220011525.5 |
| 申请日 | 2022-01-05 |
| 授权公布号 | CN217000147U |
| 授权公告日 | 2022-07-19 |
| 分类号 | E04B1/24;E04B1/58 |
| 分类 | 建筑物; |
| 申请人名称 | 上海康驰建筑技术有限公司 |
| 申请人地址 | 上海市普陀区武宁路423号4幢2078室 |
专利法律状态
2022-07-19
授权
状态信息
授权
摘要
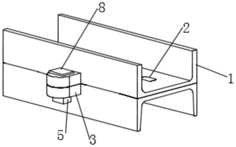
本实用新型公开了一种可拼接的双拼背打孔槽钢,对称设置槽钢,两个槽钢背对背设置,槽钢的背板上开设有连接孔,槽钢的侧壁上连接有预固定耳板,预固定耳板用于对两个背对背的槽钢进行预固定,方便于后续对两个槽钢之间进行螺栓固定,预固定耳板上开设有多边形定位孔,多边形定位孔内贯穿有多边形定位柱,通过将多边形定位柱贯穿于两个多边形定位孔内使得两个预固定耳板被固定,多边形定位柱插入两个多边形定位孔内,可保证两个槽钢不发生相对转动,从而对两个槽钢有效预先固定,对两个槽钢预固定后,通过螺栓连接连接孔,使得两个槽钢固定,当需要更换其中一个槽钢时,先将连接孔内的螺栓拆除,再拔出多边形定位柱即可,方便连接同时方便更换。


