授权公布号:CN218863008U
一种弹簧连接件
有效
申请
2022-09-19
申请公布
1970-01-01
授权
2023-04-14
预估到期
2032-09-19
| 申请号 | CN202222493193.1 |
| 申请日 | 2022-09-19 |
| 授权公布号 | CN218863008U |
| 授权公告日 | 2023-04-14 |
| 分类号 | F16B5/02;F16B5/00 |
| 分类 | 工程元件或部件;为产生和保持机器或设备的有效运行的一般措施;一般绝热; |
| 申请人名称 | 广东玛格家居有限公司 |
| 申请人地址 | 广东省佛山市三水区中心科技工业区大塘园A区68-4号(自编号:1号一3号) |
专利法律状态
2023-04-14
授权
状态信息
授权
摘要
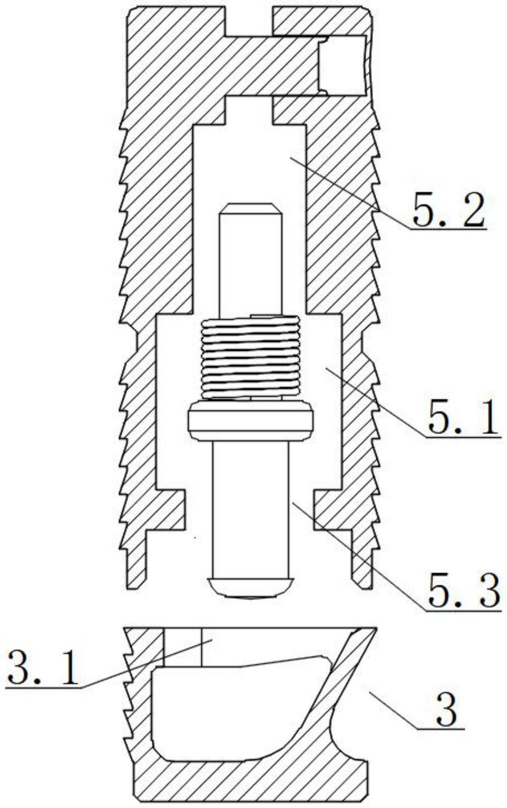
本实用新型涉及一种弹簧连接件,包括设置在层板侧部的二合一连接件;侧板的内侧壁相对二合一连接件设置有预埋件;所述的二合一连接件具有弹性支撑杆;所述的预埋件相对弹性支撑杆设置有插接孔。合一连接件以及预埋件能够预装于层板以及侧板当中;安装柜体时,只需将层板沿着侧板向下移动,二合一连接件当中的支撑杆在侧板的抵靠之下,处于压缩状态;当达到预埋件的位置时,支撑杆由于失去抵靠,将会向外弹出,伸入到预埋件的插接孔当中,起到水平支撑的作用。


